0
Contatos
Polaris
Diagramas de Peças Polaris
Preços Veículos Polaris
Oleos Polaris
Consumiveis Polaris
Acessórios Polaris
Configurador Acessórios Polaris
Acessórios Polaris Mais Requisitados
Consumiveis
Loja Online
Promoções Fim de Semana
Alargadores Espaçadores
Baterias Motos e SSV
Capacetes
Correias Variador
Escapes ATV / SSV
Ferramenta tools Diagnóstico
Filtros de Ar
Filtros de Oleo
Guinchos
Jantes ATV e SSV
Malas e Baus
Merchandising Boutique
Oleos Lubrificantes
Optimate Acessórios
Optimate Optimizadores de Bateria
Pastilhas de Travão Travagem
Pinhons Cremalheiras Correntes
Proteções Bumpers
Rolamentos Roda
Transmissões Foles Homocinéticas
Variadores Acessórios
Velas e Cachimbos
Encomendas-Faturas
Minhas Encomendas
Faturas Emitidas
Peças Pendentes
Viaturas
Localizar Número Chassis
Modelos 2021
Modelos 2022
Modelos 2023
Modelos 2024
Modelos 2025
Modelos 2026
Cesto
0
Benvindo : Sair
<< Voltar
Polaris Big Boss 6x6 400L 1997
N97AE38D
A-ARM/STRUT MOUNTING
Ver Peças/Preços/Stock
AIR BOX BIG BOSS 6X6 400L W97AE38A (4940814081B002)
Ver Peças/Preços/Stock
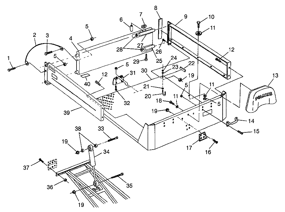
BUMPER/RACK MOUNTING BIG BOSS 6X6 400L W97AE38A (4940814081A007)
Ver Peças/Preços/Stock
CARBURETOR BIG BOSS 6X6 400L W97AE38A (4940814081D011)
Ver Peças/Preços/Stock
CENTER TIGHTENER BIG BOSS 6X6 400L W97AE38A (4940814081C003)
Ver Peças/Preços/Stock
CENTER TIGHTENER BIG BOSS 6X6 400L W97AE38A AND NORWEGIAN BIG BOSS 6X6 400L (4940814081C03A)
Ver Peças/Preços/Stock
CLUTCH COVER BIG BOSS 6X6 400L W97AE38A (4940814081C007)
Ver Peças/Preços/Stock
CONTROLS
Ver Peças/Preços/Stock
CONTROLS
Ver Peças/Preços/Stock
CONTROLS
Ver Peças/Preços/Stock
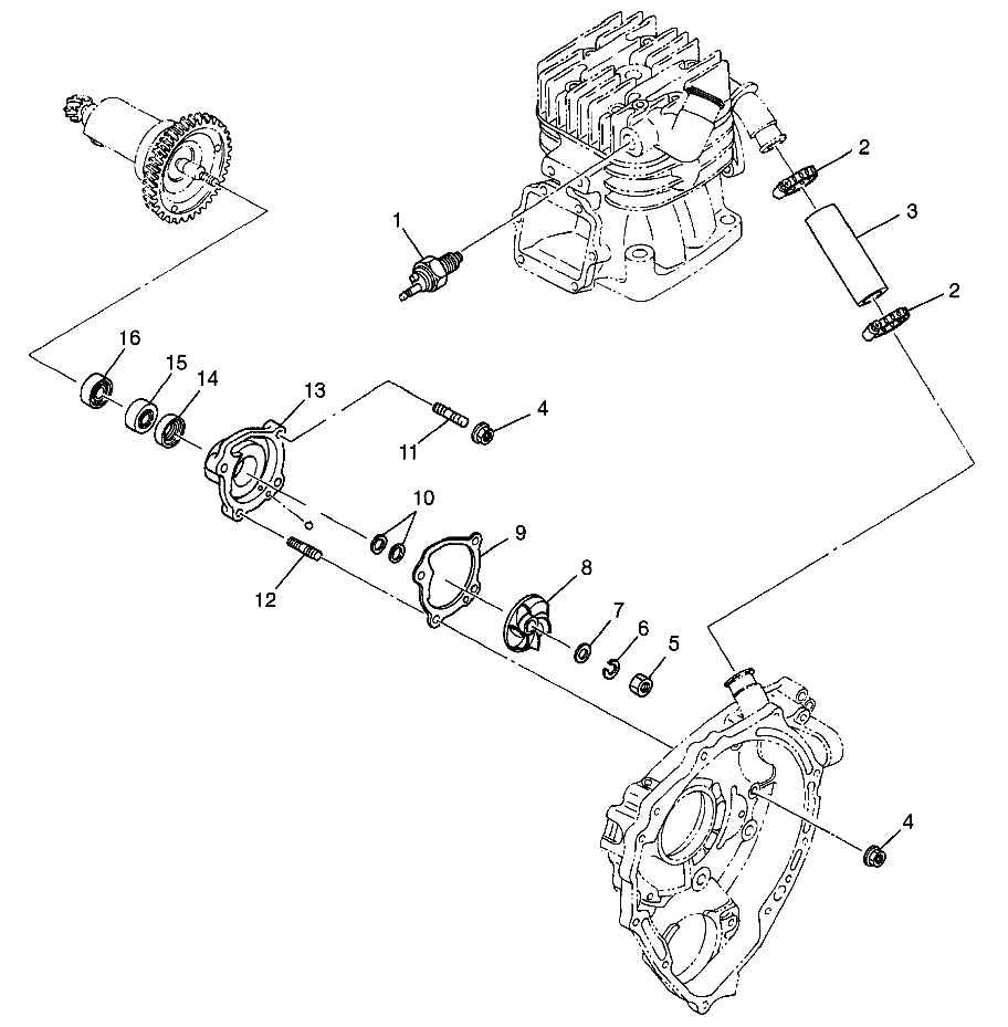
COOLING SYSTEM BIG BOSS 6X6 400L W97AE38A (4940814081A011)
Ver Peças/Preços/Stock
CRANKCASE AND CYLINDER BIG BOSS 6X6 400L W97AE38A (4940814081D007)
Ver Peças/Preços/Stock
CV JOINT
Ver Peças/Preços/Stock
DECALS BIG BOSS 6X6 400L W97AE38A (4940814081A009)
Ver Peças/Preços/Stock
DRIVE CLUTCH BIG BOSS 6X6 400L W97AE38A (4940814081C009)
Ver Peças/Preços/Stock
DRIVEN CLUTCH BIG BOSS 6X6 400L W97AE38A (4940814081C010)
Ver Peças/Preços/Stock
ELECTRICAL/TAILLIGHT BIG BOSS 6X6 400L W97AE38A (4940814081D001)
Ver Peças/Preços/Stock
ENGINE MOUNTING BIG BOSS 6X6 400L W97AE38A (4940814081A010)
Ver Peças/Preços/Stock
EXHAUST SYSTEM BIG BOSS 6X6 400L W97AE38A (4940814081A012)
Ver Peças/Preços/Stock
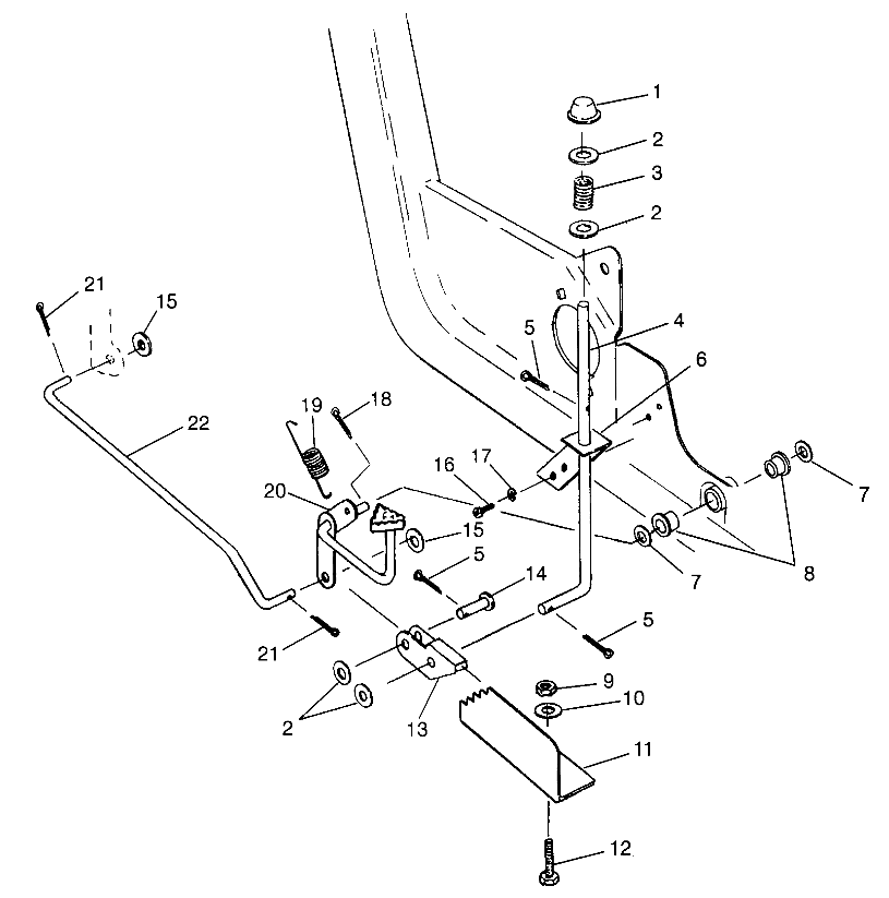
FOOT PEDAL AND PARKING BRAKE NORWEGIAN BIG BOSS 6X6 400L N97AE38D (4940814081D01A)
Ver Peças/Preços/Stock
FRONT BRAKE BIG BOSS 6X6 400L W97AE38A (4940814081B008)
Ver Peças/Preços/Stock
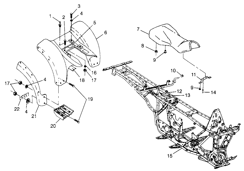
FRONT CAB BIG BOSS 6X6 400L W97AE38A (4940814081A005)
Ver Peças/Preços/Stock
FRONT DRIVE BIG BOSS 6X6 400L W97AE38A (4940814081B003)
Ver Peças/Preços/Stock
FRONT STRUT BIG BOSS 6X6 400L W97AE38A (4940814081B006)
Ver Peças/Preços/Stock
FRONT TIGHTENER BIG BOSS 6X6 400L W97AE38A (4940814081B004)
Ver Peças/Preços/Stock
FRONT WHEEL BIG BOSS 6X6 400L W97AE38A (4940814081B007)
Ver Peças/Preços/Stock
FUEL TANK BIG BOSS 6X6 400L W97AE38A (4940814081A013)
Ver Peças/Preços/Stock
GEAR SELECTOR BIG BOSS 6X6 400L W97AE38A (4940814081D005)
Ver Peças/Preços/Stock
GEARCASE BIG BOSS 6X6 400L W97AE38A (4940814081D003)
Ver Peças/Preços/Stock
GEARCASE/BRAKE AND CHAIN COVER MOUNTING BIG BOSS 6X6 400L W97AE38A (4940814081C008)
Ver Peças/Preços/Stock
HEADLIGHT BIG BOSS 6X6 400L W97AE38A (4940814081B001)
Ver Peças/Preços/Stock
MAGNETO BIG BOSS 6X6 400L W97AE38A (4940814081D014)
Ver Peças/Preços/Stock
MIDDLE AXLE BRAKE BIG BOSS 6X6 400L W97AE38A (4940814081C001)
Ver Peças/Preços/Stock
MIDDLE DRIVE BIG BOSS 6X6 400L W97AE38A (4940814081C002)
Ver Peças/Preços/Stock
MIDDLE WHEEL BIG BOSS 6X6 400L W97AE38A (4940814081C004)
Ver Peças/Preços/Stock
OIL PUMP BIG BOSS 6X6 400L W97AE38A (4940814081D010)
Ver Peças/Preços/Stock
OIL TANK BIG BOSS 6X6 400L W97AE38A (4940814081A014)
Ver Peças/Preços/Stock
PISTON AND CRANKSHAFT BIG BOSS 6X6 400L W97AE38A (4940814081D006)
Ver Peças/Preços/Stock
REAR BED MOUNTING BIG BOSS 6X6 400L W97AE38A (4940814081A008)
Ver Peças/Preços/Stock
REAR BRAKE BIG BOSS 6X6 400L W97AE38A (4940814081C011)
Ver Peças/Preços/Stock
REAR CAB BIG BOSS 6X6 400L W97AE38A (4940814081A006)
Ver Peças/Preços/Stock
REAR STRUT STABILIZER BIG BOSS 6X6 400L W97AE38A (4940814081C013)
Ver Peças/Preços/Stock
REAR WHEEL DRIVE BIG BOSS 6X6 400L W97AE38A (4940814081C012)
Ver Peças/Preços/Stock
RECOIL STARTER BIG BOSS 6X6 400L W97AE38A (4940814081D012)
Ver Peças/Preços/Stock
STARTING MOTOR BIG BOSS 6X6 400L W97AE38A (4940814081D013)
Ver Peças/Preços/Stock
STEERING
Ver Peças/Preços/Stock
STEERING POST BIG BOSS 6X6 400L W97AE38A (4940814081B010)
Ver Peças/Preços/Stock
SWING ARM WELDMENT (REAR) BIG BOSS 6X6 400L W97AE38A (4940814081C014)
Ver Peças/Preços/Stock
SWING ARM/GUARD MOUNTING BIG BOSS 6X6 400L W97AE38A (4940814081C006)
Ver Peças/Preços/Stock
SWING ARM/SHOCK MOUNTING BIG BOSS 6X6 400L W97AE38A (4940814081C005)
Ver Peças/Preços/Stock
TOOL KIT BIG BOSS 6X6 400L W97AE38A (4940814081D002)
Ver Peças/Preços/Stock
WATER PUMP BIG BOSS 6X6 400L W97AE38A (4940814081D009)
Ver Peças/Preços/Stock