0
Contatos
Polaris
Diagramas de Peças Polaris
Preços Veículos Polaris
Oleos Polaris
Consumiveis Polaris
Acessórios Polaris
Configurador Acessórios Polaris
Acessórios Polaris Mais Requisitados
Consumiveis
Loja Online
Promoções Fim de Semana
Alargadores Espaçadores
Baterias Motos e SSV
Capacetes
Correias Variador
Escapes ATV / SSV
Ferramenta tools Diagnóstico
Filtros de Ar
Filtros de Oleo
Guinchos
Jantes ATV e SSV
Malas e Baus
Merchandising Boutique
Oleos Lubrificantes
Optimate Acessórios
Optimate Optimizadores de Bateria
Pastilhas de Travão Travagem
Pinhons Cremalheiras Correntes
Proteções Bumpers
Rolamentos Roda
Transmissões Foles Homocinéticas
Variadores Acessórios
Velas e Cachimbos
Encomendas-Faturas
Minhas Encomendas
Faturas Emitidas
Peças Pendentes
Viaturas
Localizar Número Chassis
Modelos 2021
Modelos 2022
Modelos 2023
Modelos 2024
Modelos 2025
Modelos 2026
Cesto
0
Login
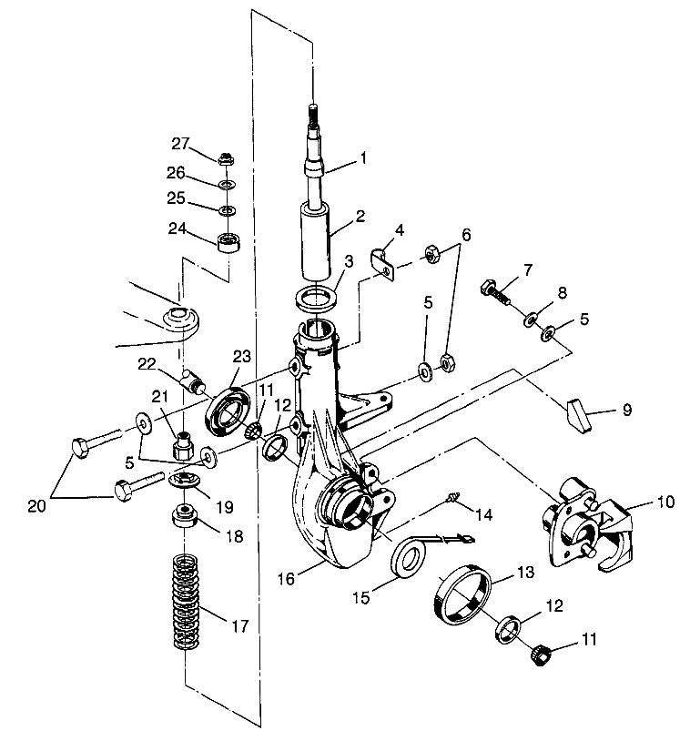
N97AE38D
FRONT STRUT BIG BOSS 6X6 400L W97AE38A (4940814081B006)
#
Referencia
Descrição
Quant(*)
PVP
Stock
1
5410791
BUMPER, STRUT Substituted by 5411468
Esta Referencia foi alterada para :
5411468
2
Alterada
2
7041374
STRUT,FRONT,32MM. Substituted by 7041755 (32 mm)
Esta Referencia foi alterada para :
7041755
2
Alterada
3
5211115
WASHER,SPRING RETAINER(10)
2
7.20+iva
4
7080573
CLAMP,RUBBER-COATED,.562(10)
2
11.17+iva
5
7558402
Washer, Flat
12
1.63+iva
5
7558402
Washer, Flat
12
1.63+iva
5
7558402
Washer, Flat
12
1.63+iva
6
7542303
NUT FLEX-LOC(10)
Consulte-nos podemos ter uma solução
4
Obsoleta
7
7512365
SCREW, CAP(10)
4
2.15+iva
8
7552901
LOCK WASHER(10)
2
2.15+iva
9
5810439
RETAINER,WIRE,STRUT CAST
Consulte-nos podemos ter uma solução
2
Obsoleta
10
-------
Asm., Front Brake Caliper, LH (See Pg. NO TAG for Details)
1
+iva
11
3554509
BEARING,TAPERED ROLLER (Splined Drive Shaft)
4
32.30+iva
11
3554509
BEARING,TAPERED ROLLER (Splined Drive Shaft)
4
32.30+iva
12
3554507
BRG,TAPER,ROLL CUP
4
43.07+iva
12
3554507
BRG,TAPER,ROLL CUP
4
43.07+iva
13
5222193
SLEEVE,STRUT HUB SEAL
2
101.03+iva
14
7080306
FITTING,LUBE.W/BALL CK.(10)
2
5.77+iva
15
4170010
COIL,MAGNET.HVY,W/PLUG-IN Substituted by 2201313
Esta Referencia foi alterada para :
2201313
2
Alterada
16
2200609
HUBSTRUT ASM,LH,HVY. Substituted by 2200975 (Incl. 9, 13-16)
Esta Referencia foi alterada para :
2200975
1
Alterada
16
2200610
HUBSTRUT ASM,RH,HVY. Substituted by 2200976 (Incl. 9, 13-16)
Esta Referencia foi alterada para :
2200976
1
Alterada
17
7041450-067
SPRING,COIL(STRUT),BLK.
Consulte-nos podemos ter uma solução
2
Obsoleta
18
5220602
RETAINER,SPRING,TOP
Consulte-nos podemos ter uma solução
2
Obsoleta
19
5430807
PIVOT BALL,BOTTOM Substituted by 5432871
Esta Referencia foi alterada para :
5432871
2
Alterada
20
7515339
BOLT(10)
4
7.43+iva
21
5130668
SPACER,THREADED
2
37.68+iva
22
-------
Asm., Drive Shaft w/Sleeve (See Pg. B1, Ref. 13)
1
+iva
23
3610028
SEAL, HUB STRUT
2
43.07+iva
24
5430806
PIVOT BALL, TOP Substituted by 5432872
Esta Referencia foi alterada para :
5432872
2
Alterada
25
5810291
SPACER, RUBBER
2
7.20+iva
26
7555749
WASHER(10)
2
2.15+iva
27
7542507
NUT,FLEX LOC(10)
2
7.20+iva
Alterada
descontinuada
Activa
• (Quant *) este campo é a quantidade de unidades necessárias, apresentados nesta imagem ,mas é vendido à unidade.