Voltar Esta peça é usada em 4 Veiculos

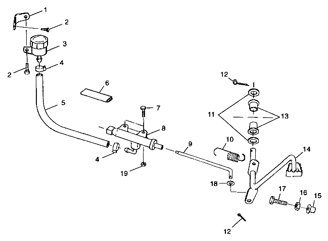
é Peça numero 5 desta imagem

Foto diagrama Polaris que contem a peça 1930889

Veículos em que se usa a peça :

Voltar Year Model_Name Model_id Assembly
1999 SCRAMBLER 400 A99BG38CA REAR BRAKE MASTER CYLINDER
1999 SCRAMBLER 500 A99BG50AA REAR BRAKE MASTER CYLINDER
1998 SCRAMBER 500 W98BC50A REAR BRAKE MASTER CYLINDER
1998 SCRAMBLER 400 W98BC38C REAR BRAKE MASTER CYLINDER SCRAMBLER 400 W98BC38C (4947254725C003)