0
Contatos
Polaris
Diagramas de Peças Polaris
Preços Veículos Polaris
Oleos Polaris
Consumiveis Polaris
Acessórios Polaris
Configurador Acessórios Polaris
Acessórios Polaris Mais Requisitados
Consumiveis
Loja Online
Promoções Fim de Semana
Alargadores Espaçadores
Baterias Motos e SSV
Capacetes
Correias Variador
Escapes ATV / SSV
Ferramenta tools Diagnóstico
Filtros de Ar
Filtros de Oleo
Guinchos
Jantes ATV e SSV
Malas e Baus
Merchandising Boutique
Oleos Lubrificantes
Optimate Acessórios
Optimate Optimizadores de Bateria
Pastilhas de Travão Travagem
Pinhons Cremalheiras Correntes
Proteções Bumpers
Rolamentos Roda
Transmissões Foles Homocinéticas
Variadores Acessórios
Velas e Cachimbos
Encomendas-Faturas
Minhas Encomendas
Faturas Emitidas
Peças Pendentes
Viaturas
Localizar Número Chassis
Modelos 2021
Modelos 2022
Modelos 2023
Modelos 2024
Modelos 2025
Modelos 2026
Cesto
0
Benvindo : Sair
<< Voltar
Polaris SPORT 400L 1998
W98BA38C
A-ARM/STRUT MOUNTING
Ver Peças/Preços/Stock
AIR BOX SPORT 400L W98BA38C (4947234723A014)
Ver Peças/Preços/Stock
CARBURETOR SPORT 400L W98BA38C (4947234723D001)
Ver Peças/Preços/Stock
CLUTCH COVER SPORT 400L W98BA38C (4947234723C003)
Ver Peças/Preços/Stock
CONTROL PANEL SPORT 400L W98BA38C (4947234723A008)
Ver Peças/Preços/Stock
CONTROLS
Ver Peças/Preços/Stock
CONTROLS
Ver Peças/Preços/Stock
COOLING SYSTEM SPORT 400L W98BA38C (4947234723C004)
Ver Peças/Preços/Stock
CRANKCASE AND CYLINDER SPORT 400L W98BA38C (4947234723C011)
Ver Peças/Preços/Stock
DECALS SPORT 400L W98BA38C (4947234723A012)
Ver Peças/Preços/Stock
DRIVE CLUTCH SPORT 400L W98BA38C (4947234723B011)
Ver Peças/Preços/Stock
DRIVEN CLUTCH SPORT 400L W98BA38C (4947234723B012)
Ver Peças/Preços/Stock
ELECTRICAL/TAILLIGHT SPORT 400L W98BA38C (4947234723C002)
Ver Peças/Preços/Stock
ENGINE MOUNTING SPORT 400L W98BA38C (4947234723A009)
Ver Peças/Preços/Stock
EXHAUST SYSTEM SPORT 400L W98BA38C (4947234723A011)
Ver Peças/Preços/Stock
FOX SHOCK, GAS, RESERVOIR SPORT 400L W98BA38C (4947234723C006)
Ver Peças/Preços/Stock
FRONT BRAKE SPORT 400L W98BA38C (4947234723B004)
Ver Peças/Preços/Stock
FRONT BUMPER AND SHIELDS SPORT 400L W98BA38C (4947234723A007)
Ver Peças/Preços/Stock
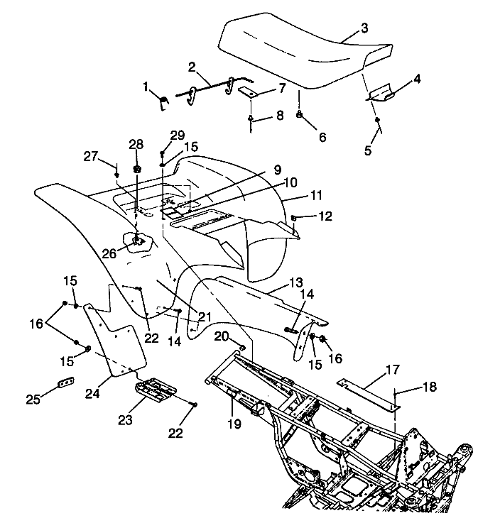
FRONT CAB SPORT 400L W98BA38C (4947234723A005)
Ver Peças/Preços/Stock
FRONT WHEEL SPORT 400L W98BA38C (4947234723B003)
Ver Peças/Preços/Stock
FUEL TANK SPORT 400L W98BA38C (4947234723A013)
Ver Peças/Preços/Stock
GEAR SELECTOR SPORT 400L W98BA38C (4947234723C008)
Ver Peças/Preços/Stock
GEARCASE SPORT 400L W98BA38C (4947234723C009)
Ver Peças/Preços/Stock
GEARCASE/BRAKE MOUNTING SPORT 400L W98BA38C (4947234723B013)
Ver Peças/Preços/Stock
HANDLEBAR SPORT 400L W98BA38C (4947234723B006)
Ver Peças/Preços/Stock
MAGNETO SPORT 400L W98BA38C (4947234723D004)
Ver Peças/Preços/Stock
OIL PUMP SPORT 400L W98BA38C (4947234723C014)
Ver Peças/Preços/Stock
OIL TANK SPORT 400L W98BA38C (4947234723B001)
Ver Peças/Preços/Stock
PISTON AND CRANKSHAFT SPORT 400L W98BA38C (4947234723C013)
Ver Peças/Preços/Stock
REAR BRAKE SPORT 400L W98BA38C (4947234723B014)
Ver Peças/Preços/Stock
REAR CAB SPORT 400L W98BA38C (4947234723A006)
Ver Peças/Preços/Stock
REAR WHEEL DRIVE SPORT 400L W98BA38C (4947234723C001)
Ver Peças/Preços/Stock
RECOIL STARTER SPORT 400L W98BA38C (4947234723D002)
Ver Peças/Preços/Stock
SHOCK VALVING SPORT 400L W98BA38C (4947234723C007)
Ver Peças/Preços/Stock
STARTING MOTOR SPORT 400L W98BA38C (4947234723D003)
Ver Peças/Preços/Stock
STEERING POST SPORT 400L W98BA38C (4947234723B007)
Ver Peças/Preços/Stock
STRUT SPORT 400L W98BA38C (4947234723B002)
Ver Peças/Preços/Stock
SWING ARM/SHOCK MOUNTING SPORT 400L W98BA38C (4947234723B010)
Ver Peças/Preços/Stock
TOOL KIT SPORT 400L W98BA38C (4947234723C005)
Ver Peças/Preços/Stock
WATER PUMP SPORT 400L W98BA38C (4947234723D005)
Ver Peças/Preços/Stock