0
Contatos
Polaris
Diagramas de Peças Polaris
Preços Veículos Polaris
Oleos Polaris
Consumiveis Polaris
Acessórios Polaris
Configurador Acessórios Polaris
Acessórios Polaris Mais Requisitados
Consumiveis
Loja Online
Promoções Fim de Semana
Alargadores Espaçadores
Baterias Motos e SSV
Capacetes
Correias Variador
Escapes ATV / SSV
Ferramenta tools Diagnóstico
Filtros de Ar
Filtros de Oleo
Guinchos
Jantes ATV e SSV
Malas e Baus
Merchandising Boutique
Oleos Lubrificantes
Optimate Acessórios
Optimate Optimizadores de Bateria
Pastilhas de Travão Travagem
Pinhons Cremalheiras Correntes
Proteções Bumpers
Rolamentos Roda
Transmissões Foles Homocinéticas
Variadores Acessórios
Velas e Cachimbos
Encomendas-Faturas
Minhas Encomendas
Faturas Emitidas
Peças Pendentes
Viaturas
Localizar Número Chassis
Modelos 2021
Modelos 2022
Modelos 2023
Modelos 2024
Modelos 2025
Modelos 2026
Cesto
0
Benvindo : Sair
<< Voltar
Polaris MAGNUM 2X4 1998
W98AA42A
A-ARM/STRUT MOUNTING
Ver Peças/Preços/Stock
AIR BOX MAGNUM 2X4 W98AA42A (4945524552A014)
Ver Peças/Preços/Stock
BUMPER/RACK MOUNTING MAGNUM 2X4 W98AA42A (4945524552A007)
Ver Peças/Preços/Stock
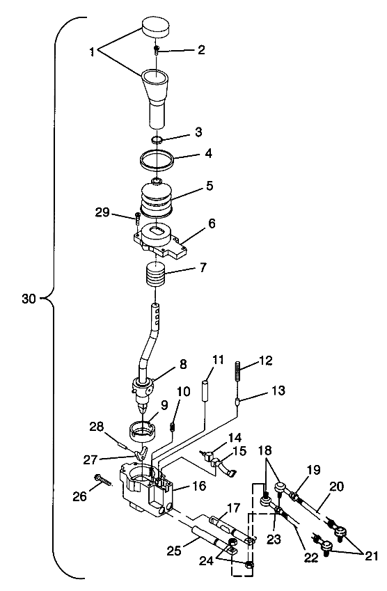
CARBURETOR MAGNUM 2X4 W98AA42A (4945524552D001)
Ver Peças/Preços/Stock
CLUTCH COVER MAGNUM 2X4 W98AA42A (4945524552B013)
Ver Peças/Preços/Stock
CONTROLS
Ver Peças/Preços/Stock
CONTROLS
Ver Peças/Preços/Stock
COOLING SYSTEM MAGNUM 2X4 W98AA42A (4945524552A009)
Ver Peças/Preços/Stock
CRANKCASE
Ver Peças/Preços/Stock
CRANKSHAFT AND PISTON
Ver Peças/Preços/Stock
CYLINDER
Ver Peças/Preços/Stock
DECALS MAGNUM 2X4 W98AA42A (4945524552B001)
Ver Peças/Preços/Stock
DRIVE CLUTCH MAGNUM 2X4 W98AA42A (4945524552B011)
Ver Peças/Preços/Stock
DRIVEN CLUTCH MAGNUM 2X4 W98AA42A (4945524552B012)
Ver Peças/Preços/Stock
ELECTRICAL/TAILLIGHT
Ver Peças/Preços/Stock
ENGINE MOUNTING MAGNUM 2X4 W98AA42A (4945524552A008)
Ver Peças/Preços/Stock
EXHAUST SYSTEM MAGNUM 2X4 W98AA42A (4945524552A010)
Ver Peças/Preços/Stock
FRONT BRAKE MAGNUM 2X4 W98AA42A (4945524552B004)
Ver Peças/Preços/Stock
FRONT CAB MAGNUM 2X4 W98AA42A (4945524552A005)
Ver Peças/Preços/Stock
FRONT WHEEL MAGNUM 2X4 W98AA42A (4945524552B003)
Ver Peças/Preços/Stock
FUEL PUMP
Ver Peças/Preços/Stock
FUEL TANK MAGNUM 2X4 W98AA42A (4945524552A011)
Ver Peças/Preços/Stock
GEAR SELECTOR
Ver Peças/Preços/Stock
GEARCASE
Ver Peças/Preços/Stock
GEARCASE/BRAKE MOUNTING MAGNUM 2X4 W98AA42A (4945524552B014)
Ver Peças/Preços/Stock
HEADLIGHT MAGNUM 2X4 W98AA42A (4945524552A013)
Ver Peças/Preços/Stock
INTAKE AND EXHAUST
Ver Peças/Preços/Stock
MAGNETO MAGNUM 2X4 W98AA42A (4945524552D006)
Ver Peças/Preços/Stock
OIL FILTER MAGNUM 2X4 W98AA42A (4945524552D003)
Ver Peças/Preços/Stock
OIL PUMP
Ver Peças/Preços/Stock
OIL TANK MAGNUM 2X4 W98AA42A (4945524552A012)
Ver Peças/Preços/Stock
REAR BRAKE
Ver Peças/Preços/Stock
REAR CAB MAGNUM 2X4 W98AA42A (4945524552A006)
Ver Peças/Preços/Stock
REAR WHEEL DRIVE
Ver Peças/Preços/Stock
RECOIL STARTER MAGNUM 2X4 W98AA42A (4945524552D004)
Ver Peças/Preços/Stock
STARTING MOTOR MAGNUM 2X4 W98AA42A (4945524552D005)
Ver Peças/Preços/Stock
STEERING
Ver Peças/Preços/Stock
STEERING POST MAGNUM 2X4 W98AA42A (4945524552B006)
Ver Peças/Preços/Stock
STRUT MAGNUM 2X4 W98AA42A (4945524552B002)
Ver Peças/Preços/Stock
SWING ARM/SHOCK MOUNTING MAGNUM 2X4 W98AA42A (4945524552B010)
Ver Peças/Preços/Stock
TOOL KIT
Ver Peças/Preços/Stock
WATER PUMP
Ver Peças/Preços/Stock