0
Contatos
Polaris
Diagramas de Peças Polaris
Preços Veículos Polaris
Oleos Polaris
Consumiveis Polaris
Acessórios Polaris
Configurador Acessórios Polaris
Acessórios Polaris Mais Requisitados
Consumiveis
Loja Online
Promoções Fim de Semana
Alargadores Espaçadores
Baterias Motos e SSV
Capacetes
Correias Variador
Escapes ATV / SSV
Ferramenta tools Diagnóstico
Filtros de Ar
Filtros de Oleo
Guinchos
Jantes ATV e SSV
Malas e Baus
Merchandising Boutique
Oleos Lubrificantes
Optimate Acessórios
Optimate Optimizadores de Bateria
Pastilhas de Travão Travagem
Pinhons Cremalheiras Correntes
Proteções Bumpers
Rolamentos Roda
Transmissões Foles Homocinéticas
Variadores Acessórios
Velas e Cachimbos
Encomendas-Faturas
Minhas Encomendas
Faturas Emitidas
Peças Pendentes
Viaturas
Localizar Número Chassis
Modelos 2021
Modelos 2022
Modelos 2023
Modelos 2024
Modelos 2025
Modelos 2026
Cesto
0
Benvindo : Sair
<< Voltar
Polaris TRAIL BOSS 1998
W98AA25C
AIR BOX TRAIL BOSS W98AA25C (4945314531A014)
Ver Peças/Preços/Stock
BUMPER AND RACK MOUNTING TRAIL BOSS W98AA25C (4945314531A007)
Ver Peças/Preços/Stock
CARBURETOR TRAIL BOSS W98AA25C (4945314531C013)
Ver Peças/Preços/Stock
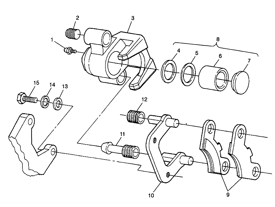
CLUTCH COVER
Ver Peças/Preços/Stock
CONTROLS
Ver Peças/Preços/Stock
CONTROLS
Ver Peças/Preços/Stock
CRANKCASE AND CYLINDER TRAIL BOSS W98AA25C (4945314531C007)
Ver Peças/Preços/Stock
CRANKSHAFT AND PISTON TRAIL BOSS W98AA25C (4945314531C008)
Ver Peças/Preços/Stock
DECALS TRAIL BOSS W98AA25C (4945314531A008)
Ver Peças/Preços/Stock
DRIVE CLUTCH
Ver Peças/Preços/Stock
DRIVEN CLUTCH
Ver Peças/Preços/Stock
ELECTRICAL/TAILLIGHT TRAIL BOSS W98AA25C (4945314531C002)
Ver Peças/Preços/Stock
ENGINE MOUNTING TRAIL BOSS W98AA25C (4945314531A009)
Ver Peças/Preços/Stock
EXHAUST TRAIL BOSS W98AA25C (4945314531A010)
Ver Peças/Preços/Stock
FRONT BRAKE
Ver Peças/Preços/Stock
FRONT CAB TRAIL BOSS W98AA25C (4945314531A005)
Ver Peças/Preços/Stock
FRONT WHEEL
Ver Peças/Preços/Stock
FUEL TANK TRAIL BOSS W98AA25C (4945314531A011)
Ver Peças/Preços/Stock
GEARCASE TRAIL BOSS W98AA25C (4945314531C003)
Ver Peças/Preços/Stock
GEARCASE/BRAKE MOUNTING
Ver Peças/Preços/Stock
HEADLIGHT TRAIL BOSS W98AA25C (4945314531A013)
Ver Peças/Preços/Stock
MAGNETO TRAIL BOSS W98AA25C (4945314531C009)
Ver Peças/Preços/Stock
OIL PUMP TRAIL BOSS W98AA25C (4945314531C012)
Ver Peças/Preços/Stock
OIL TANK TRAIL BOSS W98AA25C (4945314531A012)
Ver Peças/Preços/Stock
REAR BRAKE
Ver Peças/Preços/Stock
REAR CAB TRAIL BOSS W98AA25C (4945314531A006)
Ver Peças/Preços/Stock
REAR WHEEL DRIVE TRAIL BOSS W98AA25C (4945314531C001)
Ver Peças/Preços/Stock
RECOIL STARTER TRAIL BOSS W98AA25C (4945314531C011)
Ver Peças/Preços/Stock
SHIFT LINKAGE TRAIL BOSS W98AA25C (4945314531C005)
Ver Peças/Preços/Stock
STARTING MOTOR TRAIL BOSS W98AA25C (4945314531C010)
Ver Peças/Preços/Stock
STEERING
Ver Peças/Preços/Stock
STEERING POST
Ver Peças/Preços/Stock
STEERING/A
Ver Peças/Preços/Stock
STRUT
Ver Peças/Preços/Stock
SWING ARM/SHOCK MOUNTING
Ver Peças/Preços/Stock
TOOL KIT TRAIL BOSS W98AA25C (4945314531C006)
Ver Peças/Preços/Stock