0
Contatos
Polaris
Diagramas de Peças Polaris
Preços Veículos Polaris
Oleos Polaris
Consumiveis Polaris
Acessórios Polaris
Configurador Acessórios Polaris
Acessórios Polaris Mais Requisitados
Consumiveis
Loja Online
Promoções Fim de Semana
Alargadores Espaçadores
Baterias Motos e SSV
Capacetes
Correias Variador
Escapes ATV / SSV
Ferramenta tools Diagnóstico
Filtros de Ar
Filtros de Oleo
Guinchos
Jantes ATV e SSV
Malas e Baus
Merchandising Boutique
Oleos Lubrificantes
Optimate Acessórios
Optimate Optimizadores de Bateria
Pastilhas de Travão Travagem
Pinhons Cremalheiras Correntes
Proteções Bumpers
Rolamentos Roda
Transmissões Foles Homocinéticas
Variadores Acessórios
Velas e Cachimbos
Encomendas-Faturas
Minhas Encomendas
Faturas Emitidas
Peças Pendentes
Viaturas
Localizar Número Chassis
Modelos 2021
Modelos 2022
Modelos 2023
Modelos 2024
Modelos 2025
Modelos 2026
Cesto
0
Benvindo : Sair
<< Voltar
Polaris XPLORER 500 1997
W97CD50A
A-ARM/STRUT MOUNTING
Ver Peças/Preços/Stock
AIR BOX
Ver Peças/Preços/Stock
CARBURETOR XPLORER 500 W97CD50A (4941354135D009)
Ver Peças/Preços/Stock
CLUTCH COVER XPLORER 500 W97CD50A (4941354135C009)
Ver Peças/Preços/Stock
CONTROLS
Ver Peças/Preços/Stock
CONTROLS
Ver Peças/Preços/Stock
COOLING SYSTEM XPLORER 500 W97CD50A (4941354135A013)
Ver Peças/Preços/Stock
CRANKCASE XPLORER 500 W97CD50A (4941354135D002)
Ver Peças/Preços/Stock
CRANKSHAFT AND PISTON XPLORER 500 W97CD50A (4941354135D005)
Ver Peças/Preços/Stock
CV JOINT
Ver Peças/Preços/Stock
CYLINDER XPLORER 500 W97CD50A (4941354135D003)
Ver Peças/Preços/Stock
DECALS XPLORER 500 W97CD50A (4941354135A008)
Ver Peças/Preços/Stock
DRIVE CLUTCH XPLORER 500 W97CD50A (4941354135C003)
Ver Peças/Preços/Stock
DRIVEN CLUTCH XPLORER 500 W97CD50A (4941354135C004)
Ver Peças/Preços/Stock
ELECTRICAL/TAILLIGHT XPLORER 500 W97CD50A (4941354135C010)
Ver Peças/Preços/Stock
ENGINE MOUNTING XPLORER 500 W97CD50A (4941354135A011)
Ver Peças/Preços/Stock
EXHAUST SYSTEM XPLORER 500 W97CD50A (4941354135A014)
Ver Peças/Preços/Stock
FRAME MOUNTING XPLORER 500 W97CD50A (4941354135C001)
Ver Peças/Preços/Stock
FRONT BRAKE
Ver Peças/Preços/Stock
FRONT CAB XPLORER 500 W97CD50A (4941354135A007)
Ver Peças/Preços/Stock
FRONT HOUSING XPLORER 500 W97CD50A (4941354135C011)
Ver Peças/Preços/Stock
FRONT RACK AND BUMPER MOUNTING XPLORER 500 W97CD50A (4941354135A010)
Ver Peças/Preços/Stock
FRONT STRUT
Ver Peças/Preços/Stock
FRONT WHEEL
Ver Peças/Preços/Stock
FUEL PUMP XPLORER 500 W97CD50A (4941354135E001)
Ver Peças/Preços/Stock
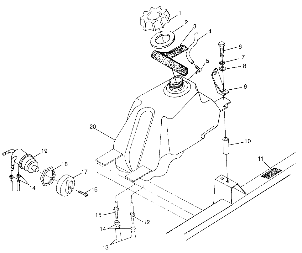
FUEL TANK
Ver Peças/Preços/Stock
GEAR SELECTOR XPLORER 500 W97CD50A (4941354135D001)
Ver Peças/Preços/Stock
GEARCASE (CASES AND SNORKEL) XPLORER 500 W97CD50A (4941354135C012)
Ver Peças/Preços/Stock
GEARCASE (INTERNAL COMPONENTS) XPLORER 500 W97CD50A (4941354135C013)
Ver Peças/Preços/Stock
HANDLEBAR
Ver Peças/Preços/Stock
INTAKE AND EXHAUST XPLORER 500 W97CD50A (4941354135D006)
Ver Peças/Preços/Stock
MAGNETO XPLORER 500 W97CD50A (4941354135D013)
Ver Peças/Preços/Stock
OIL FILTER XPLORER 500 W97CD50A (4941354135D012)
Ver Peças/Preços/Stock
OIL PUMP XPLORER 500 W97CD50A (4941354135D011)
Ver Peças/Preços/Stock
OIL TANK
Ver Peças/Preços/Stock
PROP SHAFT
Ver Peças/Preços/Stock
REAR BRAKE XPLORER 500 W97CD50A (4941354135C007)
Ver Peças/Preços/Stock
REAR CAB AND SEAT XPLORER 500 W97CD50A (4941354135A005)
Ver Peças/Preços/Stock
REAR DRIVE SHAFT
Ver Peças/Preços/Stock
REAR RACK MOUNTING XPLORER 500 W97CD50A (4941354135A009)
Ver Peças/Preços/Stock
REAR SUSPENSION XPLORER 500 W97CD50A (4941354135C005)
Ver Peças/Preços/Stock
REAR WHEEL DRIVE XPLORER 500 W97CD50A (4941354135C008)
Ver Peças/Preços/Stock
RECOIL STARTER XPLORER 500 W97CD50A (4941354135D007)
Ver Peças/Preços/Stock
STARTING MOTOR XPLORER 500 W97CD50A (4941354135D014)
Ver Peças/Preços/Stock
STEERING POST
Ver Peças/Preços/Stock
TOOL KIT
Ver Peças/Preços/Stock
WATER PUMP XPLORER 500 W97CD50A (4941354135D008)
Ver Peças/Preços/Stock