0
Contatos
Polaris
Diagramas de Peças Polaris
Preços Veículos Polaris
Oleos Polaris
Consumiveis Polaris
Acessórios Polaris
Configurador Acessórios Polaris
Acessórios Polaris Mais Requisitados
Consumiveis
Loja Online
Promoções Fim de Semana
Alargadores Espaçadores
Baterias Motos e SSV
Capacetes
Correias Variador
Escapes ATV / SSV
Ferramenta tools Diagnóstico
Filtros de Ar
Filtros de Oleo
Guinchos
Jantes ATV e SSV
Malas e Baus
Merchandising Boutique
Oleos Lubrificantes
Optimate Acessórios
Optimate Optimizadores de Bateria
Pastilhas de Travão Travagem
Pinhons Cremalheiras Correntes
Proteções Bumpers
Rolamentos Roda
Transmissões Foles Homocinéticas
Variadores Acessórios
Velas e Cachimbos
Encomendas-Faturas
Minhas Encomendas
Faturas Emitidas
Peças Pendentes
Viaturas
Localizar Número Chassis
Modelos 2021
Modelos 2022
Modelos 2023
Modelos 2024
Modelos 2025
Modelos 2026
Cesto
0
Benvindo : Sair
<< Voltar
Polaris XPLORER 300 1997
W97CC28C
A-ARM/STRUT MOUNTING
Ver Peças/Preços/Stock
AIR BOX XPLORER 300 W97CC28C (4939813981B002)
Ver Peças/Preços/Stock
CARBURETOR XPLORER 300 W97CC28C (4939813981D005)
Ver Peças/Preços/Stock
CENTER TIGHTENER (AFTER 3/17/97) XPLORER 300 W97CC28C (4939813981B015)
Ver Peças/Preços/Stock
CENTER TIGHTENER XPLORER 300 W97CC28C (4939813981B014)
Ver Peças/Preços/Stock
CLUTCH COVER XPLORER 300 W97CC28C (4939813981C004)
Ver Peças/Preços/Stock
CONTROLS
Ver Peças/Preços/Stock
CONTROLS
Ver Peças/Preços/Stock
COOLING SYSTEM XPLORER 300 W97CC28C (4939813981A012)
Ver Peças/Preços/Stock
CRANKCASE AND CYLINDER XPLORER 300 W97CC28C (4939813981C013)
Ver Peças/Preços/Stock
CRANKSHAFT AND PISTON XPLORER 300 W97CC28C (4939813981C012)
Ver Peças/Preços/Stock
CV JOINT
Ver Peças/Preços/Stock
DECALS XPLORER 300 W97CC28C (4939813981A009)
Ver Peças/Preços/Stock
DRIVE CLUTCH XPLORER 300 W97CC28C (4939813981C001)
Ver Peças/Preços/Stock
DRIVEN CLUTCH XPLORER 300 W97CC28C (4939813981C002)
Ver Peças/Preços/Stock
ELECTRICAL/TAILLIGHT XPLORER 300 W97CC28C (4939813981C008)
Ver Peças/Preços/Stock
ENGINE MOUNTING XPLORER 300 W97CC28C (4939813981A011)
Ver Peças/Preços/Stock
EXHAUST SYSTEM XPLORER 300 W97CC28C (4939813981A013)
Ver Peças/Preços/Stock
FRONT BRAKE XPLORER 300 W97CC28C (4939813981B008)
Ver Peças/Preços/Stock
FRONT CAB XPLORER 300 W97CC28C (4939813981A007)
Ver Peças/Preços/Stock
FRONT DRIVE XPLORER 300 W97CC28C (4939813981B003)
Ver Peças/Preços/Stock
FRONT RACK AND BUMPER MOUNTING XPLORER 300 W97CC28C (4939813981A010)
Ver Peças/Preços/Stock
FRONT STRUT XPLORER 300 W97CC28C (4939813981B006)
Ver Peças/Preços/Stock
FRONT TIGHTENER XPLORER 300 W97CC28C (4939813981B004)
Ver Peças/Preços/Stock
FRONT WHEEL XPLORER 300 W97CC28C (4939813981B007)
Ver Peças/Preços/Stock
FUEL TANK XPLORER 300 W97CC28C (4939813981A014)
Ver Peças/Preços/Stock
GEAR SELECTOR XPLORER 300 W97CC28C (4939813981C011)
Ver Peças/Preços/Stock
GEARCASE XPLORER 300 W97CC28C (4939813981C009)
Ver Peças/Preços/Stock
GEARCASE/BRAKE AND CHAIN COVER MOUNTING XPLORER 300 W97CC28C (4939813981C005)
Ver Peças/Preços/Stock
HANDLEBAR XPLORER 300 W97CC28C (4939813981B011)
Ver Peças/Preços/Stock
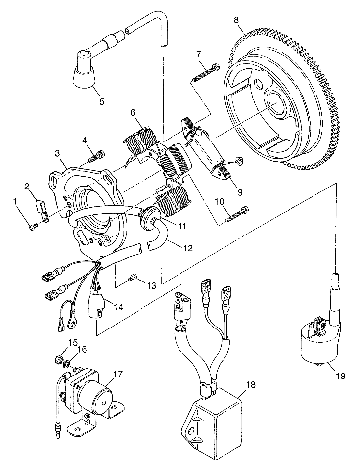
MAGNETO XPLORER 300 W97CC28C (4939813981D001)
Ver Peças/Preços/Stock
OIL PUMP XPLORER 300 W97CC28C (4939813981D004)
Ver Peças/Preços/Stock
OIL TANK XPLORER 300 W97CC28C (4939813981B001)
Ver Peças/Preços/Stock
REAR BRAKE XPLORER 300 W97CC28C (4939813981C006)
Ver Peças/Preços/Stock
REAR CAB AND SEAT XPLORER 300 W97CC28C (4939813981A005)
Ver Peças/Preços/Stock
REAR RACK MOUNTING XPLORER 300 W97CC28C (4939813981A008)
Ver Peças/Preços/Stock
REAR WHEEL DRIVE XPLORER 300 W97CC28C (4939813981C007)
Ver Peças/Preços/Stock
RECOIL STARTER XPLORER 300 W97CC28C (4939813981D003)
Ver Peças/Preços/Stock
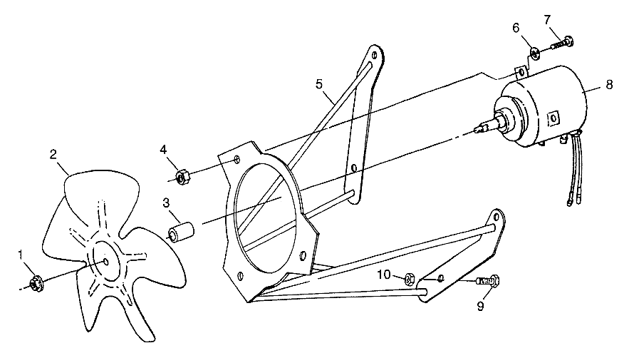
STARTING MOTOR XPLORER 300 W97CC28C (4939813981D002)
Ver Peças/Preços/Stock
STEERING POST XPLORER 300 W97CC28C (4939813981B012)
Ver Peças/Preços/Stock
SWING ARM/SHOCK MOUNTING XPLORER 300 W97CC28C (4939813981C003)
Ver Peças/Preços/Stock
TOOL KIT XPLORER 300 W97CC28C (4939813981D006)
Ver Peças/Preços/Stock