0
Contatos
Polaris
Diagramas de Peças Polaris
Preços Veículos Polaris
Oleos Polaris
Consumiveis Polaris
Acessórios Polaris
Configurador Acessórios Polaris
Acessórios Polaris Mais Requisitados
Consumiveis
Loja Online
Promoções Fim de Semana
Alargadores Espaçadores
Baterias Motos e SSV
Capacetes
Correias Variador
Escapes ATV / SSV
Ferramenta tools Diagnóstico
Filtros de Ar
Filtros de Oleo
Guinchos
Jantes ATV e SSV
Malas e Baus
Merchandising Boutique
Oleos Lubrificantes
Optimate Acessórios
Optimate Optimizadores de Bateria
Pastilhas de Travão Travagem
Pinhons Cremalheiras Correntes
Proteções Bumpers
Rolamentos Roda
Transmissões Foles Homocinéticas
Variadores Acessórios
Velas e Cachimbos
Encomendas-Faturas
Minhas Encomendas
Faturas Emitidas
Peças Pendentes
Viaturas
Localizar Número Chassis
Modelos 2021
Modelos 2022
Modelos 2023
Modelos 2024
Modelos 2025
Modelos 2026
Cesto
0
Benvindo : Sair
<< Voltar
Polaris XPRESS 300 1997
W97CA28C
A-ARM/STRUT MOUNTING
Ver Peças/Preços/Stock
AIR BOX (300) XPRESS 300 W97CA28C (4939603960B005)
Ver Peças/Preços/Stock
AIR BOX (400L) XPRESS 400L W97CA38C (4939603960B006)
Ver Peças/Preços/Stock
CARBURETOR (300) XPRESS 300 W97CA28C (4939603960E003)
Ver Peças/Preços/Stock
CARBURETOR (400L) XPRESS 400L W97CA38C (4939603960E004)
Ver Peças/Preços/Stock
CLUTCH COVER (300) XPRESS 300 W97CA28C (4939603960C007)
Ver Peças/Preços/Stock
CLUTCH COVER (400L) XPRESS 400L W97CA38C (4939603960C008)
Ver Peças/Preços/Stock
CONTROLS
Ver Peças/Preços/Stock
CONTROLS
Ver Peças/Preços/Stock
COOLING SYSTEM (300) XPRESS 300 W97CA28C (4939603960A013)
Ver Peças/Preços/Stock
COOLING SYSTEM (400L) XPRESS 400L W97CA38C (4939603960A014)
Ver Peças/Preços/Stock
CRANKCASE AND CYLINDER (300) XPRESS 300 W97CA28C (4939603960D003)
Ver Peças/Preços/Stock
CRANKCASE AND CYLINDER (400L) XPRESS 400L W97CA38C (4939603960D005)
Ver Peças/Preços/Stock
CRANKSHAFT AND PISTON (300) XPRESS 300 W97CA28C (4939603960D007)
Ver Peças/Preços/Stock
DECALS XPRESS 300 W97CA28C AND XPRESS 400L W97CA38C (4939603960B001)
Ver Peças/Preços/Stock
DRIVE CLUTCH XPRESS 300 W97CA28C AND XPRESS 400L W97CA38C (4939603960C005)
Ver Peças/Preços/Stock
DRIVEN CLUTCH XPRESS 300 W97CA28C AND XPRESS 400L W97CA38C (4939603960C006)
Ver Peças/Preços/Stock
ELECTRICAL/TAILLIGHT XPRESS 300 W97CA28C AND XPRESS 400L W97CA38C (4939603960C012)
Ver Peças/Preços/Stock
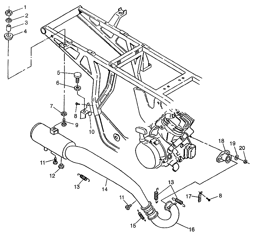
ENGINE MOUNTING (300) XPRESS 300 W97CA28C (4939603960A011)
Ver Peças/Preços/Stock
ENGINE MOUNTING (400L) XPRESS 400L W97CA38C (4939603960A012)
Ver Peças/Preços/Stock
EXHAUST SYSTEM XPRESS 300 W97CA28C AND XPRESS 400L W97CA38C (4939603960B002)
Ver Peças/Preços/Stock
FRONT BRAKE XPRESS 300 W97CA28C AND XPRESS 400L W97CA38C (4939603960C001)
Ver Peças/Preços/Stock
FRONT CAB XPRESS 300 W97CA28C AND XPRESS 400L W97CA38C (4939603960A005)
Ver Peças/Preços/Stock
FRONT RACK AND BUMPER MOUNTING (300) XPRESS 300 W97CA28C (4939603960A009)
Ver Peças/Preços/Stock
FRONT RACK AND BUMPER MOUNTING (400L) XPRESS 400L W97CA38C (4939603960A010)
Ver Peças/Preços/Stock
FRONT WHEEL XPRESS 300 W97CA28C AND XPRESS 400L W97CA38C (4939603960B008)
Ver Peças/Preços/Stock
FUEL TANK XPRESS 300 W97CA28C AND XPRESS 400L W97CA38C (4939603960B003)
Ver Peças/Preços/Stock
GEAR SELECTOR (300) XPRESS 300 W97CA28C (4939603960C013)
Ver Peças/Preços/Stock
GEAR SELECTOR (400L) XPRESS 400L W97CA38C (4939603960C014)
Ver Peças/Preços/Stock
GEARCASE XPRESS 300 W97CA28C AND XPRESS 400L W97CA38C (4939603960D001)
Ver Peças/Preços/Stock
GEARCASE/BRAKE AND CHAIN COVER MOUNTING XPRESS 300 W97CA28C AND XPRESS 400 (4939603960C009)
Ver Peças/Preços/Stock
HANDLEBAR (300) XPRESS 300 W97CA28C (4939603960B009)
Ver Peças/Preços/Stock
HANDLEBAR AND HEADLIGHT POD (400L) XPRESS 400L W97CA38C (4939603960B011)
Ver Peças/Preços/Stock
MAGNETO (300) XPRESS 300 W97CA28C (4939603960D009)
Ver Peças/Preços/Stock
MAGNETO (400L) XPRESS 400L W97CA38C (4939603960D010)
Ver Peças/Preços/Stock
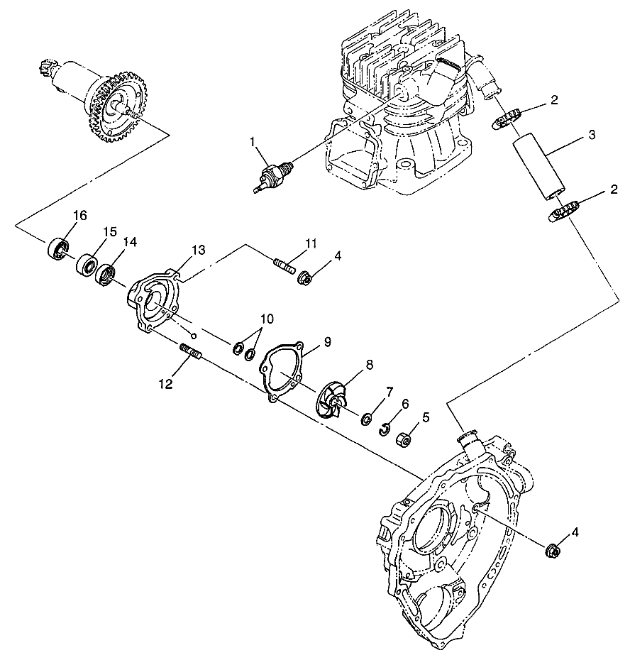
OIL PUMP (300) XPRESS 300 W97CA28C (4939603960D013)
Ver Peças/Preços/Stock
OIL PUMP (400L) XPRESS 400L W97CA38C (4939603960D014)
Ver Peças/Preços/Stock
OIL TANK XPRESS 300 W97CA28C AND XPRESS 400L W97CA38C (4939603960B004)
Ver Peças/Preços/Stock
PISTON AND CRANKSHAFT (400L) XPRESS 400L W97CA38C (4939603960D008)
Ver Peças/Preços/Stock
REAR BRAKE XPRESS 300 W97CA28C AND XPRESS 400L W97CA38C (4939603960C010)
Ver Peças/Preços/Stock
REAR CAB AND SEAT XPRESS 300 W97CA28C AND XPRESS 400L W97CA38C (4939603960A007)
Ver Peças/Preços/Stock
REAR RACK MOUNTING XPRESS 300 W97CA28C AND XPRESS 400L W97CA38C (4939603960A006)
Ver Peças/Preços/Stock
REAR WHEEL DRIVE XPRESS 300 W97CA28C AND XPRESS 400L W97CA38C (4939603960C011)
Ver Peças/Preços/Stock
RECOIL STARTER XPRESS 300 W97CA28C AND XPRESS 400L W97CA38C (4939603960E001)
Ver Peças/Preços/Stock
STARTING MOTOR (300) XPRESS 300 W97CA28C (4939603960D011)
Ver Peças/Preços/Stock
STARTING MOTOR (400L) XPRESS 400L W97CA38C (4939603960D012)
Ver Peças/Preços/Stock
STEERING POST XPRESS 300 W97CA28C AND XPRESS 400L W97CA38C (4939603960C002)
Ver Peças/Preços/Stock
STRUT XPRESS 300 W97CA28C AND XPRESS 400L W97CA38C (4939603960B007)
Ver Peças/Preços/Stock
SWING ARM/SHOCK MOUNTING XPRESS 300 W97CA28C AND XPRESS 400L W97CA38C (4939603960C004)
Ver Peças/Preços/Stock
TOOL KIT XPRESS 300 W97CA28C AND XPRESS 400L W97CA38C (4939603960E005)
Ver Peças/Preços/Stock
WATER PUMP (400L) XPRESS 400L W97CA38C (4939603960E002)
Ver Peças/Preços/Stock