0
Contatos
Polaris
Diagramas de Peças Polaris
Preços Veículos Polaris
Oleos Polaris
Consumiveis Polaris
Acessórios Polaris
Configurador Acessórios Polaris
Acessórios Polaris Mais Requisitados
Consumiveis
Loja Online
Promoções Fim de Semana
Alargadores Espaçadores
Baterias Motos e SSV
Capacetes
Correias Variador
Escapes ATV / SSV
Ferramenta tools Diagnóstico
Filtros de Ar
Filtros de Oleo
Guinchos
Jantes ATV e SSV
Malas e Baus
Merchandising Boutique
Oleos Lubrificantes
Optimate Acessórios
Optimate Optimizadores de Bateria
Pastilhas de Travão Travagem
Pinhons Cremalheiras Correntes
Proteções Bumpers
Rolamentos Roda
Transmissões Foles Homocinéticas
Variadores Acessórios
Velas e Cachimbos
Encomendas-Faturas
Minhas Encomendas
Faturas Emitidas
Peças Pendentes
Viaturas
Localizar Número Chassis
Modelos 2021
Modelos 2022
Modelos 2023
Modelos 2024
Modelos 2025
Modelos 2026
Cesto
0
Benvindo : Sair
<< Voltar
Polaris 300 4X4 1995
W958130
A-ARM/STRUT MOUNTING
Ver Peças/Preços/Stock
AIR BOX ASSEMBLY 4X4 300 W958130 (4930183018B001)
Ver Peças/Preços/Stock
BUMPER/RACK MOUNTING 4X4 300 W958130 (4930183018A008)
Ver Peças/Preços/Stock
CARBURETOR 4X4 300 W958130 (4930183018D005)
Ver Peças/Preços/Stock
CENTER TIGHTENER ASSEMBLY 4X4 300 W958130 (4930183018B013)
Ver Peças/Preços/Stock
CLUTCH COVER ASSEMBLY 4X4 300 W958130 (4930183018C001)
Ver Peças/Preços/Stock
CONTROLS
Ver Peças/Preços/Stock
CONTROLS
Ver Peças/Preços/Stock
CRANKCASE AND CYLINDER 4X4 300 W958130 (4930183018C013)
Ver Peças/Preços/Stock
CRANKSHAFT AND PISTON 4X4 300 W958130 (4930183018C012)
Ver Peças/Preços/Stock
CV JOINT (SPLINED) 4X4 300 W958130 (4930183018B004)
Ver Peças/Preços/Stock
DECALS 4X4 300 W958130 (4930183018A007)
Ver Peças/Preços/Stock
DRIVE CLUTCH ASSEMBLY 4X4 300 W958130 (4930183018C002)
Ver Peças/Preços/Stock
DRIVEN CLUTCH ASSEMBLY 4X4 300 W958130 (4930183018C003)
Ver Peças/Preços/Stock
ELECTRICAL/TAILLIGHT ASSEMBLY 4X4 300 W958130 (4930183018C010)
Ver Peças/Preços/Stock
ENGINE MOUNTING 4X4 300 W958130 (4930183018A009)
Ver Peças/Preços/Stock
EXHAUST SYSTEM 4X4 300 W958130 (4930183018A011)
Ver Peças/Preços/Stock
FAN ASSEMBLY 4X4 300 W958130 (4930183018A010)
Ver Peças/Preços/Stock
FRONT BRAKE ASSEMBLY 4X4 300 W958130 (4930183018B007)
Ver Peças/Preços/Stock
FRONT CAB ASSEMBLY 4X4 300 W958130 (4930183018A005)
Ver Peças/Preços/Stock
FRONT DRIVE ASSEMBLY 4X4 300 W958130 (4930183018B002)
Ver Peças/Preços/Stock
FRONT STRUT ASSEMBLY 4X4 300 W958130 (4930183018B005)
Ver Peças/Preços/Stock
FRONT TIGHTENER ASSEMBLY 4X4 300 W958130 (4930183018B003)
Ver Peças/Preços/Stock
FRONT WHEEL ASSEMBLY 4X4 300 W958130 (4930183018B006)
Ver Peças/Preços/Stock
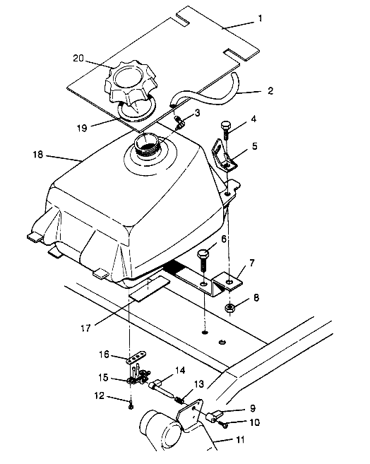
FUEL TANK ASSEMBLY 4X4 300 W958130 (4930183018A012)
Ver Peças/Preços/Stock
GEAR SELECTOR 4X4 300 W958130 (4930183018C007)
Ver Peças/Preços/Stock
GEARCASE ASSEMBLY 4X4 300 W958130 (4930183018C008)
Ver Peças/Preços/Stock
GEARCASE/BRAKE AND CHAIN COVER MOUNTING 4X4 300 W958130 (4930183018C004)
Ver Peças/Preços/Stock
HEADLIGHT ASSEMBLY 4X4 300 W958130 (4930183018A014)
Ver Peças/Preços/Stock
MAGNETO ASSEMBLY 4X4 300 W958130 (4930183018D001)
Ver Peças/Preços/Stock
OIL PUMP ASSEMBLY 4X4 300 W958130 (4930183018D004)
Ver Peças/Preços/Stock
OIL TANK ASSEMBLY 4X4 300 W958130 (4930183018A013)
Ver Peças/Preços/Stock
REAR BRAKE ASSEMBLY 4X4 300 W958130 (4930183018C005)
Ver Peças/Preços/Stock
REAR CAB ASSEMBLY 4X4 300 W958130 (4930183018A006)
Ver Peças/Preços/Stock
REAR WHEEL DRIVE ASSEMBLY 4X4 300 W958130 (4930183018C006)
Ver Peças/Preços/Stock
RECOIL STARTER 4X4 300 W958130 (4930183018D003)
Ver Peças/Preços/Stock
STARTING MOTOR 4X4 300 W958130 (4930183018D002)
Ver Peças/Preços/Stock
STEERING
Ver Peças/Preços/Stock
STEERING POST ASSEMBLY 4X4 300 W958130 (4930183018B009)
Ver Peças/Preços/Stock
SWING ARM/SHOCK MOUNTING 4X4 400L W959140 (4930183018B014)
Ver Peças/Preços/Stock
TOOL KIT ASSEMBLY 4X4 300 W958130 (4930183018C011)
Ver Peças/Preços/Stock