0
Contatos
Polaris
Diagramas de Peças Polaris
Preços Veículos Polaris
Oleos Polaris
Consumiveis Polaris
Acessórios Polaris
Configurador Acessórios Polaris
Acessórios Polaris Mais Requisitados
Consumiveis
Loja Online
Promoções Fim de Semana
Alargadores Espaçadores
Baterias Motos e SSV
Capacetes
Correias Variador
Escapes ATV / SSV
Ferramenta tools Diagnóstico
Filtros de Ar
Filtros de Oleo
Guinchos
Jantes ATV e SSV
Malas e Baus
Merchandising Boutique
Oleos Lubrificantes
Optimate Acessórios
Optimate Optimizadores de Bateria
Pastilhas de Travão Travagem
Pinhons Cremalheiras Correntes
Proteções Bumpers
Rolamentos Roda
Transmissões Foles Homocinéticas
Variadores Acessórios
Velas e Cachimbos
Encomendas-Faturas
Minhas Encomendas
Faturas Emitidas
Peças Pendentes
Viaturas
Localizar Número Chassis
Modelos 2021
Modelos 2022
Modelos 2023
Modelos 2024
Modelos 2025
Modelos 2026
Cesto
0
Benvindo : Sair
<< Voltar
Polaris TRAIL BOSS 1994
W948527
AIR BOX ASSEMBLY TRAIL BOSS W948527 (4926822682A013)
Ver Peças/Preços/Stock
BUMPER AND RACK MOUNTING TRAIL BOSS W948527 (4926822682A007)
Ver Peças/Preços/Stock
CARBURETOR
Ver Peças/Preços/Stock
CLUTCH COVER ASSEMBLY TRAIL BOSS W948527 (4926822682B011)
Ver Peças/Preços/Stock
CONTROLS
Ver Peças/Preços/Stock
CONTROLS
Ver Peças/Preços/Stock
CRANKCASE AND CYLINDER
Ver Peças/Preços/Stock
CRANKSHAFT AND PISTON
Ver Peças/Preços/Stock
DRIVE CLUTCH ASSEMBLY TRAIL BOSS W948527 (4926822682B009)
Ver Peças/Preços/Stock
DRIVEN CLUTCH ASSEMBLY TRAIL BOSS W948527 (4926822682B010)
Ver Peças/Preços/Stock
ELECTRICAL/TAILLIGHT ASSEMBLY
Ver Peças/Preços/Stock
ENGINE MOUNTING TRAIL BOSS W948527 (4926822682A008)
Ver Peças/Preços/Stock
EXHAUST ASSEMBLY TRAIL BOSS W948527 (4926822682A009)
Ver Peças/Preços/Stock
FRONT BRAKE ASSEMBLY TRAIL BOSS W948527 (4926822682B002)
Ver Peças/Preços/Stock
FRONT CAB ASSEMBLY TRAIL BOSS W948527 (4926822682A005)
Ver Peças/Preços/Stock
FRONT WHEEL ASSEMBLY TRAIL BOSS W948527 (4926822682B001)
Ver Peças/Preços/Stock
FUEL TANK ASSEMBLY TRAIL BOSS W948527 (4926822682A010)
Ver Peças/Preços/Stock
GEARCASE ASSEMBLY
Ver Peças/Preços/Stock
GEARCASE/BRAKE MOUNTING TRAIL BOSS W948527 (4926822682B012)
Ver Peças/Preços/Stock
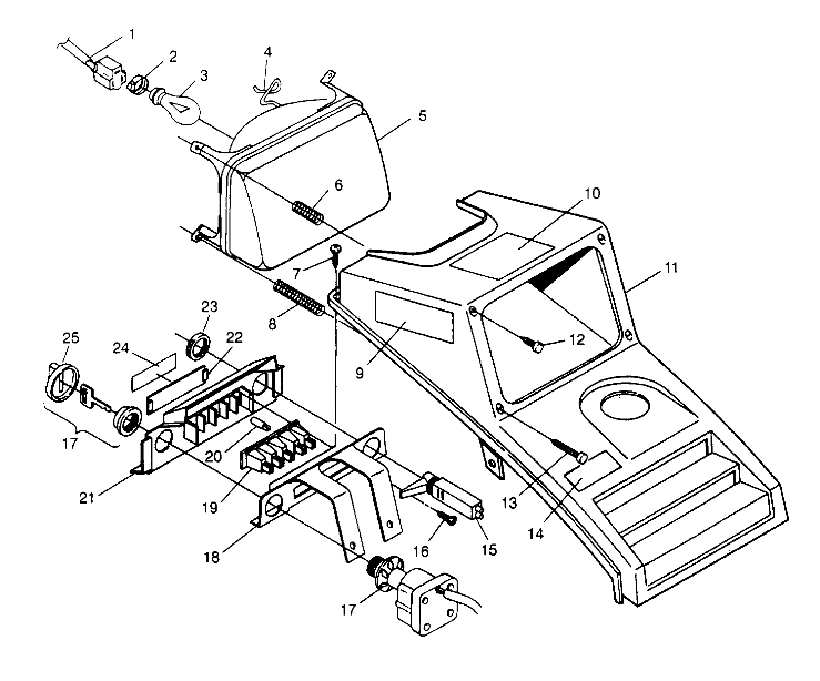
HEADLIGHT ASSEMBLY TRAIL BOSS W948527 (4926822682A012)
Ver Peças/Preços/Stock
MAGNETO ASSEMBLY
Ver Peças/Preços/Stock
OIL PUMP ASSEMBLY
Ver Peças/Preços/Stock
OIL TANK ASSEMBLY TRAIL BOSS W948527 (4926822682A011)
Ver Peças/Preços/Stock
REAR BRAKE ASSEMBLY TRAIL BOSS W948527 (4926822682B013)
Ver Peças/Preços/Stock
REAR CAB ASSEMBLY TRAIL BOSS W948527 (4926822682A006)
Ver Peças/Preços/Stock
REAR WHEEL DRIVE ASSEMBLY
Ver Peças/Preços/Stock
RECOIL STARTER
Ver Peças/Preços/Stock
SHIFT LINKAGE ASSEMBLY TRAIL BOSS W948527 (4926822682B014)
Ver Peças/Preços/Stock
STARTING MOTOR
Ver Peças/Preços/Stock
STEERING
Ver Peças/Preços/Stock
STEERING POST ASSEMBLY TRAIL BOSS W948527 (4926822682B004)
Ver Peças/Preços/Stock
STEERING/A
Ver Peças/Preços/Stock
STRUT ASSEMBLY TRAIL BOSS W948527 (4926822682A014)
Ver Peças/Preços/Stock
SWING ARM/SHOCK MOUNTING TRAIL BOSS W948527 (4926822682B008)
Ver Peças/Preços/Stock
TOOL KIT ASSEMBLY
Ver Peças/Preços/Stock