<< Voltar    Polaris SWEDISH 400L 6X6 1994

S948740

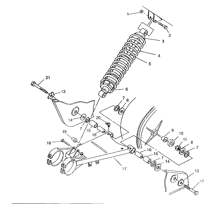
A-ARM/STRUT MOUNTING

A-ARM/STRUT

Ver Peças/Preços/Stock

AIR BOX ASSEMBLY 6X6 400L, SWEDISH S948740 AND NORWEGIAN N948740 (4926812681012A)

AIR

Ver Peças/Preços/Stock

BUMPER/RACK MOUNTING 6X6 400L, SWEDISH S948740 AND NORWEGIAN N948740 (4926812681003A)

BUMPER/RACK

Ver Peças/Preços/Stock

CARBURETOR 6X6 400L, SWEDISH S948740 AND NORWEGIAN N948740 (4926812681052A)

CARBURETOR

Ver Peças/Preços/Stock

CENTER TIGHTENER ASSEMBLY 6X6 400L, SWEDISH S948740 AND NORWEGIAN N948740 (4926812681027A)

CENTER

Ver Peças/Preços/Stock

CLUTCH COVER ASSEMBLY 6X6 400L, SWEDISH S948740 AND NORWEGIAN N948740 (4926812681033A)

CLUTCH

Ver Peças/Preços/Stock

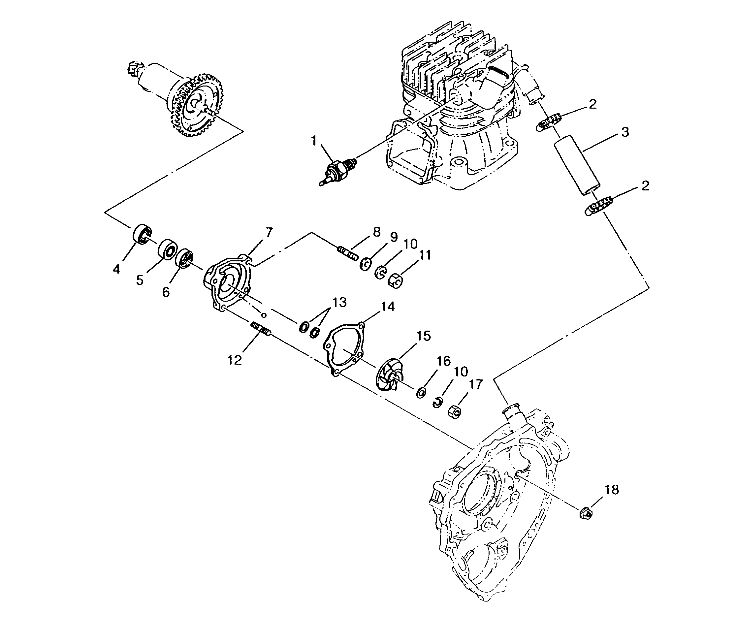
COOLING SYSTEM 6X6 400L, SWEDISH S948740 AND NORWEGIAN N948740 (4926812681007A)

COOLING

Ver Peças/Preços/Stock

CRANKCASE AND CYLINDER 6X6 400L, SWEDISH S948740 AND NORWEGIAN N948740 (4926812681047A)

CRANKCASE

Ver Peças/Preços/Stock

CV JOINT 6X6 400L, SWEDISH S948740 AND NORWEGIAN N948740 (4926812681015A)

CV

Ver Peças/Preços/Stock

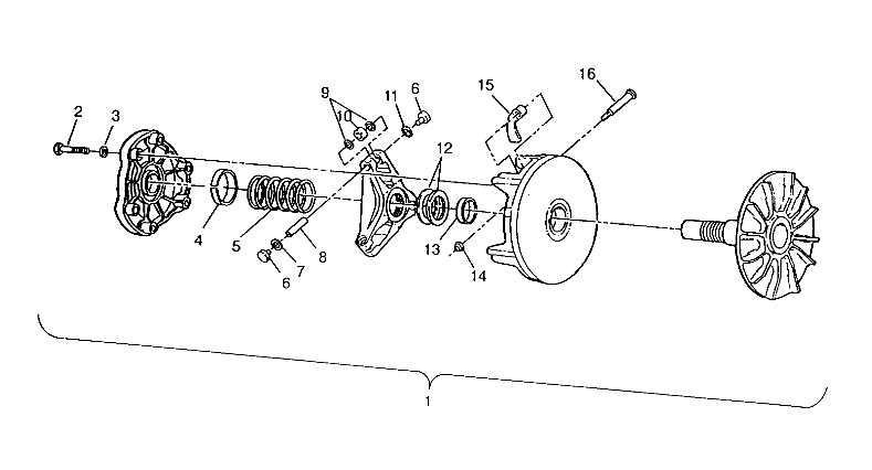
DRIVE CLUTCH ASSEMBLY 6X6 400L, SWEDISH S948740 AND NORWEGIAN N948740 (4926812681031A)

DRIVE

Ver Peças/Preços/Stock

DRIVEN CLUTCH ASSEMBLY 6X6 400L, SWEDISH S948740 AND NORWEGIAN N948740 (4926812681032A)

DRIVEN

Ver Peças/Preços/Stock

ELECTRICAL/TAILLIGHT ASSEMBLY 6X6 400L, SWEDISH S948740 AND NORWEGIAN N948 (4926812681039A)

ELECTRICAL/TAILLIGHT

Ver Peças/Preços/Stock

ENGINE MOUNTING 6X6 400L, SWEDISH S948740 AND NORWEGIAN N948740 (4926812681006A)

ENGINE

Ver Peças/Preços/Stock

EXHAUST SYSTEM 6X6 400L, SWEDISH S948740 AND NORWEGIAN N948740 (4926812681008A)

EXHAUST

Ver Peças/Preços/Stock

FAN MOTOR 6X6 400L, SWEDISH S948740 AND NORWEGIAN N948740 (4926812681056A)

FAN

Ver Peças/Preços/Stock

FOOT PEDAL AND PARKING BRAKE ASSEMBLY 6X6 400L, SWEDISH S948740 AND NORWEG (4926812681004A)

FOOT

Ver Peças/Preços/Stock

FRONT BRAKE ASSEMBLY 6X6 400L, SWEDISH S948740 AND NORWEGIAN N948740 (4926812681018A)

FRONT

Ver Peças/Preços/Stock

FRONT CAB ASSEMBLY 6X6 400L, SWEDISH S948740 AND NORWEGIAN N948740 (4926812681001A)

FRONT

Ver Peças/Preços/Stock

FRONT DRIVE ASSEMBLY 6X6 400L, SWEDISH S948740 AND NORWEGIAN N948740 (4926812681013A)

FRONT

Ver Peças/Preços/Stock

FRONT STRUT ASSEMBLY 6X6 400L, SWEDISH S948740 AND NORWEGIAN N948740 (4926812681016A)

FRONT

Ver Peças/Preços/Stock

FRONT TIGHTENER ASSEMBLY 6X6 400L, SWEDISH S948740 AND NORWEGIAN N948740 (4926812681014A)

FRONT

Ver Peças/Preços/Stock

FRONT WHEEL ASSEMBLY 6X6 400L, SWEDISH S948740 AND NORWEGIAN N948740 (4926812681017A)

FRONT

Ver Peças/Preços/Stock

FUEL TANK ASSEMBLY 6X6 400L, SWEDISH S948740 AND NORWEGIAN N948740 (4926812681009A)

FUEL

Ver Peças/Preços/Stock

GEARCASE ASSEMBLY 6X6 400L, NORWEGIAN N948740 (4926812681043A)

GEARCASE

Ver Peças/Preços/Stock

GEARCASE ASSEMBLY 6X6 400L, SWEDISH S948740 (4926812681041A)

GEARCASE

Ver Peças/Preços/Stock

GEARCASE/BRAKE AND CHAIN COVER MOUNTING 6X6 400L, SWEDISH S948740 AND NORW (4926812681035A)

GEARCASE/BRAKE

Ver Peças/Preços/Stock

HEADLIGHT ASSEMBLY 6X6 400L, SWEDISH S948740 AND NORWEGIAN N948740 (4926812681011A)

HEADLIGHT

Ver Peças/Preços/Stock

MAGNETO ASSEMBLY 6X6 400L, SWEDISH S948740 AND NORWEGIAN N948740 (4926812681055A)

MAGNETO

Ver Peças/Preços/Stock

MIDDLE AXLE BRAKE ASSEMBLY 6X6 400L, SWEDISH S948740 AND NORWEGIAN N948740 (4926812681026A)

MIDDLE

Ver Peças/Preços/Stock

MIDDLE DRIVE ASSEMBLY 6X6 400L, SWEDISH S948740 AND NORWEGIAN N948740 (4926812681025A)

MIDDLE

Ver Peças/Preços/Stock

MIDDLE WHEEL ASSEMBLY 6X6 400L, SWEDISH S948740 AND NORWEGIAN N948740 (4926812681028A)

MIDDLE

Ver Peças/Preços/Stock

OIL PUMP 6X6 400L, SWEDISH S948740 AND NORWEGIAN N948740 (4926812681051A)

OIL

Ver Peças/Preços/Stock

OIL TANK ASSEMBLY 6X6 400L, SWEDISH S948740 AND NORWEGIAN N948740 (4926812681010A)

OIL

Ver Peças/Preços/Stock

PISTON AND CRANKSHAFT 6X6 400L, SWEDISH S948740 AND NORWEGIAN N948740 (4926812681049A)

PISTON

Ver Peças/Preços/Stock

REAR BED MOUNTING 6X6 400L, SWEDISH S948740 AND NORWEGIAN N948740 (4926812681005A)

REAR

Ver Peças/Preços/Stock

REAR BRAKE ASSEMBLY 6X6 400L, SWEDISH S948740 AND NORWEGIAN N948740 (4926812681034A)

REAR

Ver Peças/Preços/Stock

REAR CAB ASSEMBLY 6X6 400L, SWEDISH S948740 AND NORWEGIAN N948740 (4926812681002A)

REAR

Ver Peças/Preços/Stock

REAR STRUT STABILIZER ASSEMBLY 6X6 400L, SWEDISH S948740 AND NORWEGIAN N94 (4926812681037A)

REAR

Ver Peças/Preços/Stock

REAR WHEEL DRIVE ASSEMBLY 6X6 400L, SWEDISH S948740 AND NORWEGIAN N948740 (4926812681036A)

REAR

Ver Peças/Preços/Stock

RECOIL STARTER 6X6 400L, SWEDISH S948740 AND NORWEGIAN N948740 (4926812681053A)

RECOIL

Ver Peças/Preços/Stock

SHIFT LINKAGE ASSEMBLY 6X6 400L, SWEDISH S948740 AND NORWEGIAN N948740 (4926812681045A)

SHIFT

Ver Peças/Preços/Stock

STARTING MOTOR 6X6 400L, SWEDISH S948740 AND NORWEGIAN N948740 (4926812681054A)

STARTING

Ver Peças/Preços/Stock

STEERING POST ASSEMBLY 6X6 400L, SWEDISH S948740 AND NORWEGIAN N948740 (4926812681020A)

STEERING

Ver Peças/Preços/Stock

SWING ARM WELDMENT (REAR) 6X6 400L, SWEDISH S948740 AND NORWEGIAN N948740 (4926812681038A)

SWING

Ver Peças/Preços/Stock

SWING ARM/GUARD MOUNTING 6X6 400L, SWEDISH S948740 AND NORWEGIAN N948740 (4926812681030A)

SWING

Ver Peças/Preços/Stock

SWING ARM/SHOCK MOUNTING 6X6 400L, SWEDISH S948740 AND NORWEGIAN N948740 (4926812681029A)

SWING

Ver Peças/Preços/Stock

TOOL KIT ASSEMBLY 6X6 400L, SWEDISH S948740 AND NORWEGIAN N948740 (4926812681046A)

TOOL

Ver Peças/Preços/Stock

WATER PUMP 6X6 400L, SWEDISH S948740 AND NORWEGIAN N948740 (4926812681050A)

WATER

Ver Peças/Preços/Stock