0
Contatos
Polaris
Diagramas de Peças Polaris
Preços Veículos Polaris
Oleos Polaris
Consumiveis Polaris
Acessórios Polaris
Configurador Acessórios Polaris
Acessórios Polaris Mais Requisitados
Consumiveis
Loja Online
Promoções Fim de Semana
Alargadores Espaçadores
Baterias Motos e SSV
Capacetes
Correias Variador
Escapes ATV / SSV
Ferramenta tools Diagnóstico
Filtros de Ar
Filtros de Oleo
Guinchos
Jantes ATV e SSV
Malas e Baus
Merchandising Boutique
Oleos Lubrificantes
Optimate Acessórios
Optimate Optimizadores de Bateria
Pastilhas de Travão Travagem
Pinhons Cremalheiras Correntes
Proteções Bumpers
Rolamentos Roda
Transmissões Foles Homocinéticas
Variadores Acessórios
Velas e Cachimbos
Encomendas-Faturas
Minhas Encomendas
Faturas Emitidas
Peças Pendentes
Viaturas
Localizar Número Chassis
Modelos 2021
Modelos 2022
Modelos 2023
Modelos 2024
Modelos 2025
Modelos 2026
Cesto
0
Benvindo : Sair
<< Voltar
Polaris RANGER 570 EU (R15) 2016
R16RMA57F1/N1/EFH/SF1/2N1
BODY, BOX ASM.
Ver Peças/Preços/Stock
BODY, BOX MOUNTING
Ver Peças/Preços/Stock
BODY, DECALS
Ver Peças/Preços/Stock
BODY, DECALS
Ver Peças/Preços/Stock
BODY, FLOOR AND FENDERS
Ver Peças/Preços/Stock
BODY, FUEL TANK ASM.
Ver Peças/Preços/Stock
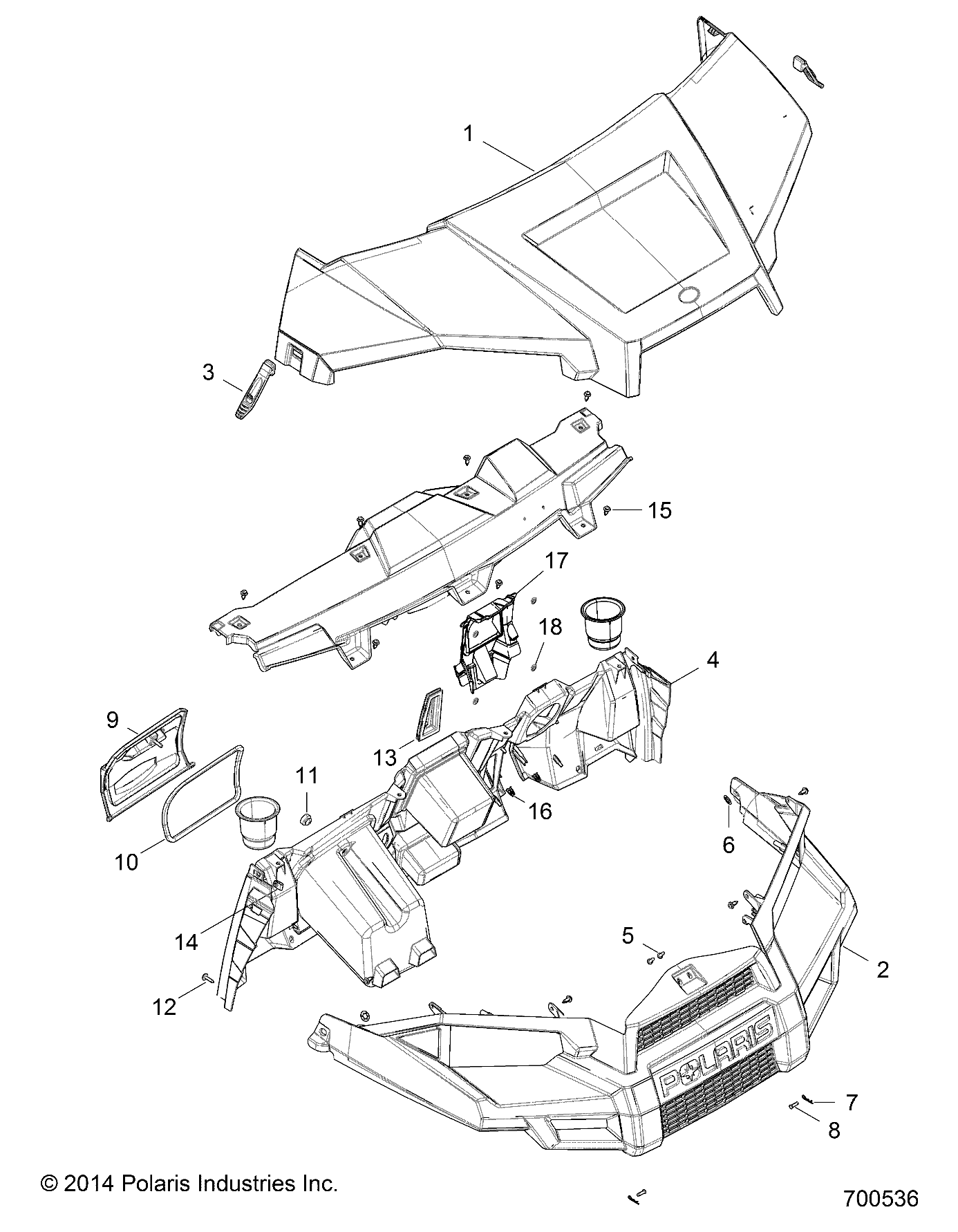
BODY, HOOD, DASH AND GRILL
Ver Peças/Preços/Stock
BODY, MIRRORS AND LICENSE PLATE BRACKET
Ver Peças/Preços/Stock
BODY, SEAT AND BELTS
Ver Peças/Preços/Stock
BODY, SIDE NETS
Ver Peças/Preços/Stock
BODY, TAILGATE ASM.
Ver Peças/Preços/Stock
BRAKES, BRAKE LINES AND MASTER CYLINDER
Ver Peças/Preços/Stock
BRAKES, CALIPER, FRONT
Ver Peças/Preços/Stock
BRAKES, CALIPER, REAR
Ver Peças/Preços/Stock
BRAKES, PARK BRAKE
Ver Peças/Preços/Stock
BRAKES, PEDAL AND MASTER CYLINDER
Ver Peças/Preços/Stock
CHASSIS, CAB FRAME
Ver Peças/Preços/Stock
CHASSIS, FRAME AND FRONT BUMPER
Ver Peças/Preços/Stock
CHASSIS, HITCH
Ver Peças/Preços/Stock
DRIVE TRAIN, CLUTCH COVER AND DUCTING
Ver Peças/Preços/Stock
DRIVE TRAIN, FRONT DRIVE SHAFT
Ver Peças/Preços/Stock
DRIVE TRAIN, FRONT GEARCASE INTERNALS
Ver Peças/Preços/Stock
DRIVE TRAIN, FRONT GEARCASE INTERNALS
Ver Peças/Preços/Stock
DRIVE TRAIN, FRONT GEARCASE MOUNTING
Ver Peças/Preços/Stock
DRIVE TRAIN, FRONT PROP SHAFT
Ver Peças/Preços/Stock
DRIVE TRAIN, GEAR SELECTOR
Ver Peças/Preços/Stock
DRIVE TRAIN, MAIN GEARCASE
Ver Peças/Preços/Stock
DRIVE TRAIN, MAIN GEARCASE
Ver Peças/Preços/Stock
DRIVE TRAIN, MAIN GEARCASE
Ver Peças/Preços/Stock
DRIVE TRAIN, PRIMARY CLUTCH
Ver Peças/Preços/Stock
DRIVE TRAIN, REAR DRIVE SHAFT
Ver Peças/Preços/Stock
DRIVE TRAIN, SECONDARY CLUTCH
Ver Peças/Preços/Stock
DRIVE TRAIN, SECONDARY CLUTCH
Ver Peças/Preços/Stock
ELECTRICAL, BATTERY
Ver Peças/Preços/Stock
ELECTRICAL, DASH INSTRUMENTS AND CONTROLS
Ver Peças/Preços/Stock
ELECTRICAL, HEADLIGHTS, TAILLIGHTS AND BULBS
Ver Peças/Preços/Stock
ELECTRICAL, IGNITION
Ver Peças/Preços/Stock
ELECTRICAL, LICENSE PLATE
Ver Peças/Preços/Stock
ELECTRICAL, REGULATOR AND RELAY
Ver Peças/Preços/Stock
ELECTRICAL, SENSORS
Ver Peças/Preços/Stock
ELECTRICAL, WIRE HARNESSES
Ver Peças/Preços/Stock
ENGINE, AIR INTAKE SYSTEM
Ver Peças/Preços/Stock
ENGINE, BREATHER
Ver Peças/Preços/Stock
ENGINE, CAM CHAIN AND SPROCKET
Ver Peças/Preços/Stock
ENGINE, COOLING SYSTEM
Ver Peças/Preços/Stock
ENGINE, CRANKCASE
Ver Peças/Preços/Stock
ENGINE, CRANKSHAFT, PISTON AND BALANCE SHAFT
Ver Peças/Preços/Stock
ENGINE, CYLINDER
Ver Peças/Preços/Stock
ENGINE, CYLINDER HEAD, CAMS AND VALVES
Ver Peças/Preços/Stock
ENGINE, ENGINE AND TRANSMISSION MOUNTING
Ver Peças/Preços/Stock
ENGINE, EXHAUST SYSTEM
Ver Peças/Preços/Stock
ENGINE, FUEL INJECTOR 2521403 O
Ver Peças/Preços/Stock
ENGINE, LONG BLOCK
Ver Peças/Preços/Stock
ENGINE, OIL FILTER AND DIPSTICK
Ver Peças/Preços/Stock
ENGINE, OIL PUMP
Ver Peças/Preços/Stock
ENGINE, STARTER DRIVE
Ver Peças/Preços/Stock
ENGINE, STATOR COVER AND FLYWHEEL
Ver Peças/Preços/Stock
ENGINE, THERMOSTAT AND COVER
Ver Peças/Preços/Stock
ENGINE, THROTTLE BODY AND FUEL RAIL
Ver Peças/Preços/Stock
ENGINE, THROTTLE PEDAL
Ver Peças/Preços/Stock
ENGINE, VALVE COVER
Ver Peças/Preços/Stock
ENGINE, WATERPUMP IMPELLER AND COVER
Ver Peças/Preços/Stock
REFERENCES, TOOL KIT AND OWNERS MANUALS
Ver Peças/Preços/Stock
STEERING, STEERING ASM.
Ver Peças/Preços/Stock
STEERING, STEERING ASM.
Ver Peças/Preços/Stock
STEERING, STEERING ASM.
Ver Peças/Preços/Stock
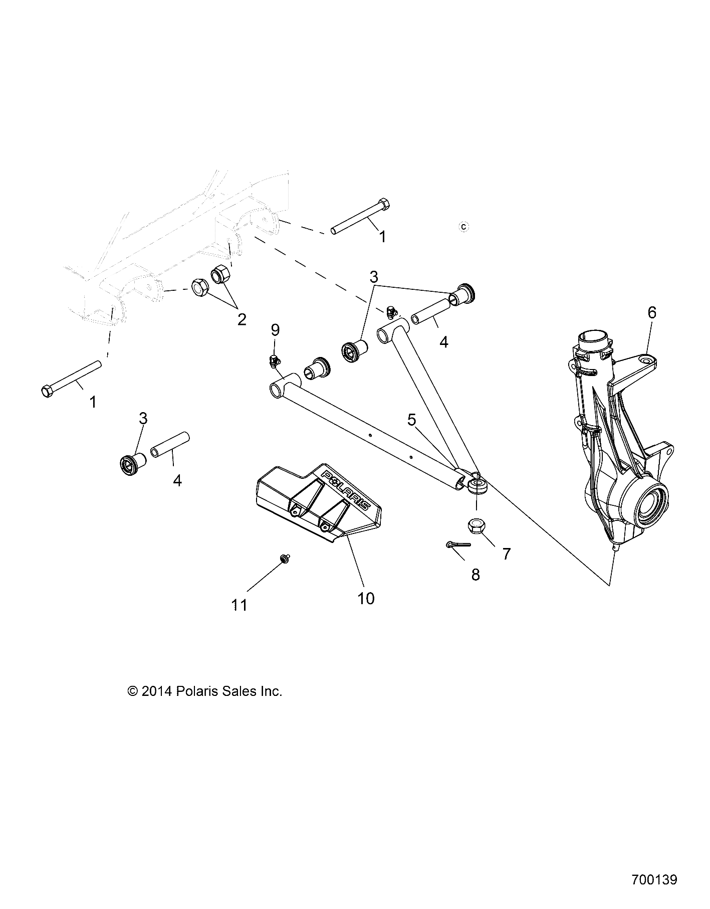
SUSPENSION, A
Ver Peças/Preços/Stock
SUSPENSION, FRONT STRUT
Ver Peças/Preços/Stock
SUSPENSION, REAR
Ver Peças/Preços/Stock
SUSPENSION, STABILIZER BAR
Ver Peças/Preços/Stock
WHEELS, FRONT
Ver Peças/Preços/Stock
WHEELS, REAR
Ver Peças/Preços/Stock