0
Contatos
Polaris
Diagramas de Peças Polaris
Preços Veículos Polaris
Oleos Polaris
Consumiveis Polaris
Acessórios Polaris
Configurador Acessórios Polaris
Acessórios Polaris Mais Requisitados
Consumiveis
Loja Online
Promoções Fim de Semana
Alargadores Espaçadores
Baterias Motos e SSV
Capacetes
Correias Variador
Escapes ATV / SSV
Ferramenta tools Diagnóstico
Filtros de Ar
Filtros de Oleo
Guinchos
Jantes ATV e SSV
Malas e Baus
Merchandising Boutique
Oleos Lubrificantes
Optimate Acessórios
Optimate Optimizadores de Bateria
Pastilhas de Travão Travagem
Pinhons Cremalheiras Correntes
Proteções Bumpers
Rolamentos Roda
Transmissões Foles Homocinéticas
Variadores Acessórios
Velas e Cachimbos
Encomendas-Faturas
Minhas Encomendas
Faturas Emitidas
Peças Pendentes
Viaturas
Localizar Número Chassis
Modelos 2021
Modelos 2022
Modelos 2023
Modelos 2024
Modelos 2025
Modelos 2026
Cesto
0
Benvindo : Sair
<< Voltar
Polaris SPORTSMAN 6X6 2008
A08CL50AA
BODY, CLUTCH COVER
Ver Peças/Preços/Stock
BODY, DECALS
Ver Peças/Preços/Stock
BODY, DUMP BOX
Ver Peças/Preços/Stock
BODY, DUMP BOX LEVER AND STRUT MOUNT
Ver Peças/Preços/Stock
BODY, FRONT CAB
Ver Peças/Preços/Stock
BODY, FRONT RACK AND BUMPER MOUNTING
Ver Peças/Preços/Stock
BODY, FRONT STORAGE
Ver Peças/Preços/Stock
BODY, FUEL SYSTEM
Ver Peças/Preços/Stock
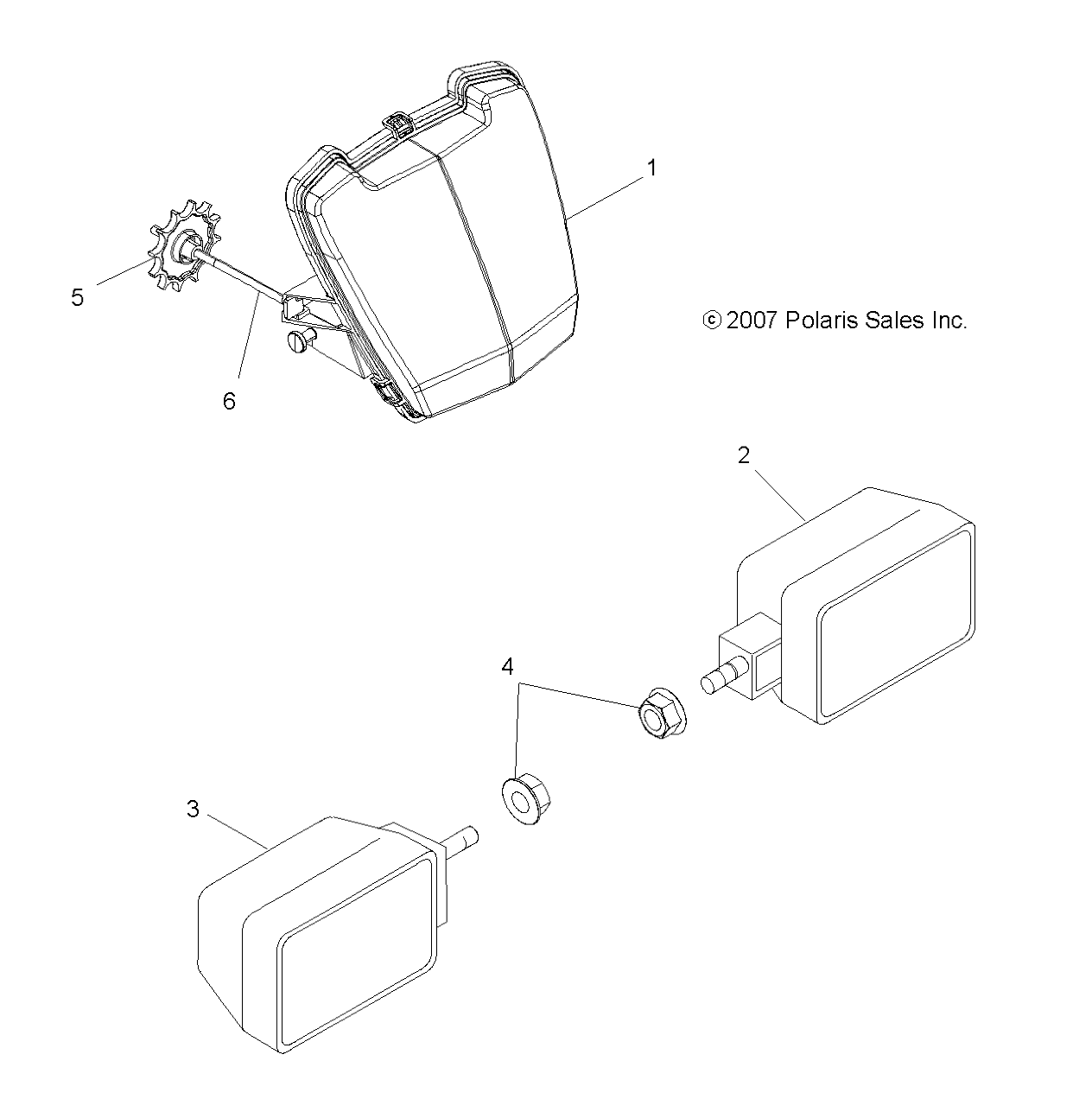
BODY, HEADLIGHT POD
Ver Peças/Preços/Stock
BODY, REAR CAB AND SEAT
Ver Peças/Preços/Stock
BODY, REAR GUARD
Ver Peças/Preços/Stock
BRAKES, BRAKE LINES
Ver Peças/Preços/Stock
BRAKES, FRONT CALIPER
Ver Peças/Preços/Stock
BRAKES, LEFT HAND MASTER CYLINDER
Ver Peças/Preços/Stock
BRAKES, REAR CALIPER
Ver Peças/Preços/Stock
BRAKES, REAR CALIPER MOUNTING
Ver Peças/Preços/Stock
BRAKES, RIGHT HAND MASTER CYLINDER
Ver Peças/Preços/Stock
CHASSIS, FRAME
Ver Peças/Preços/Stock
DRIVE TRAIN MAIN GEARCASE INTERNALS
Ver Peças/Preços/Stock
DRIVE TRAIN, DRIVE SHAFT
Ver Peças/Preços/Stock
DRIVE TRAIN, FRONT GEARCASE
Ver Peças/Preços/Stock
DRIVE TRAIN, GEAR SELECTOR
Ver Peças/Preços/Stock
DRIVE TRAIN, GEAR SELECTOR MOUNTING
Ver Peças/Preços/Stock
DRIVE TRAIN, MAIN GEARCASE
Ver Peças/Preços/Stock
DRIVE TRAIN, MAIN GEARCASE MOUNTING
Ver Peças/Preços/Stock
DRIVE TRAIN, MAIN GEARCASE OUTPUT SHAFT
Ver Peças/Preços/Stock
DRIVE TRAIN, MIDDLE DRIVE
Ver Peças/Preços/Stock
DRIVE TRAIN, PRIMARY CLUTCH
Ver Peças/Preços/Stock
DRIVE TRAIN, PROP SHAFT
Ver Peças/Preços/Stock
DRIVE TRAIN, REAR DRIVE
Ver Peças/Preços/Stock
DRIVE TRAIN, SECONDARY CLUTCH
Ver Peças/Preços/Stock
ELECTRICAL, BATTERY
Ver Peças/Preços/Stock
ELECTRICAL, BULBS
Ver Peças/Preços/Stock
ELECTRICAL, GAUGES AND INDICATORS
Ver Peças/Preços/Stock
ELECTRICAL, HARNESSES
Ver Peças/Preços/Stock
ELECTRICAL, HEADLIGHTS
Ver Peças/Preços/Stock
ELECTRICAL, IGNITION SYSTEM
Ver Peças/Preços/Stock
ELECTRICAL, SWITCHES AND SENSORS AND ECM
Ver Peças/Preços/Stock
ELECTRICAL, TAILLIGHTS
Ver Peças/Preços/Stock
ENGINE, AIR INTAKE SYSTEM
Ver Peças/Preços/Stock
ENGINE, CARBURETOR
Ver Peças/Preços/Stock
ENGINE, CARBURETOR MOUNTING/VENTING/FUEL LINES
Ver Peças/Preços/Stock
ENGINE, COOLING SYSTEM
Ver Peças/Preços/Stock
ENGINE, CRANKCASE
Ver Peças/Preços/Stock
ENGINE, CRANKSHAFT AND PISTON
Ver Peças/Preços/Stock
ENGINE, CYLINDER AND HEAD
Ver Peças/Preços/Stock
ENGINE, EXHAUST
Ver Peças/Preços/Stock
ENGINE, FUEL PUMP
Ver Peças/Preços/Stock
ENGINE, MOUNTING
Ver Peças/Preços/Stock
ENGINE, OIL FILTER
Ver Peças/Preços/Stock
ENGINE, OIL PUMP
Ver Peças/Preços/Stock
ENGINE, OIL SYSTEM
Ver Peças/Preços/Stock
ENGINE, RECOIL STARTER
Ver Peças/Preços/Stock
ENGINE, SHORT BLOCK
Ver Peças/Preços/Stock
ENGINE, STARTING SYSTEM
Ver Peças/Preços/Stock
ENGINE, VALVES AND CAMSHAFT
Ver Peças/Preços/Stock
ENGINE, WATER PUMP
Ver Peças/Preços/Stock
REFERENCE, MANUALS AND INFORMATION
Ver Peças/Preços/Stock
STEERING, CONTROLS AND THROTTLE
Ver Peças/Preços/Stock
STEERING, HANDLEBAR AND CONTROLS
Ver Peças/Preços/Stock
STEERING, STEERING POST
Ver Peças/Preços/Stock
SUSPENSION, A
Ver Peças/Preços/Stock
SUSPENSION, FRONT STRUT
Ver Peças/Preços/Stock
SUSPENSION, REAR STRUT STABILIZER
Ver Peças/Preços/Stock
SUSPENSION, REAR SWING ARM
Ver Peças/Preços/Stock
SUSPENSION, SWING ARM AND SHOCK MOUNTING
Ver Peças/Preços/Stock
TOOLS, TOOL KIT
Ver Peças/Preços/Stock
WHEELS, FRONT
Ver Peças/Preços/Stock
WHEELS, REAR AND MIDDLE
Ver Peças/Preços/Stock