0
Contatos
Polaris
Diagramas de Peças Polaris
Preços Veículos Polaris
Oleos Polaris
Consumiveis Polaris
Acessórios Polaris
Configurador Acessórios Polaris
Acessórios Polaris Mais Requisitados
Consumiveis
Loja Online
Promoções Fim de Semana
Alargadores Espaçadores
Baterias Motos e SSV
Capacetes
Correias Variador
Escapes ATV / SSV
Ferramenta tools Diagnóstico
Filtros de Ar
Filtros de Oleo
Guinchos
Jantes ATV e SSV
Malas e Baus
Merchandising Boutique
Oleos Lubrificantes
Optimate Acessórios
Optimate Optimizadores de Bateria
Pastilhas de Travão Travagem
Pinhons Cremalheiras Correntes
Proteções Bumpers
Rolamentos Roda
Transmissões Foles Homocinéticas
Variadores Acessórios
Velas e Cachimbos
Encomendas-Faturas
Minhas Encomendas
Faturas Emitidas
Peças Pendentes
Viaturas
Localizar Número Chassis
Modelos 2021
Modelos 2022
Modelos 2023
Modelos 2024
Modelos 2025
Modelos 2026
Cesto
0
Login
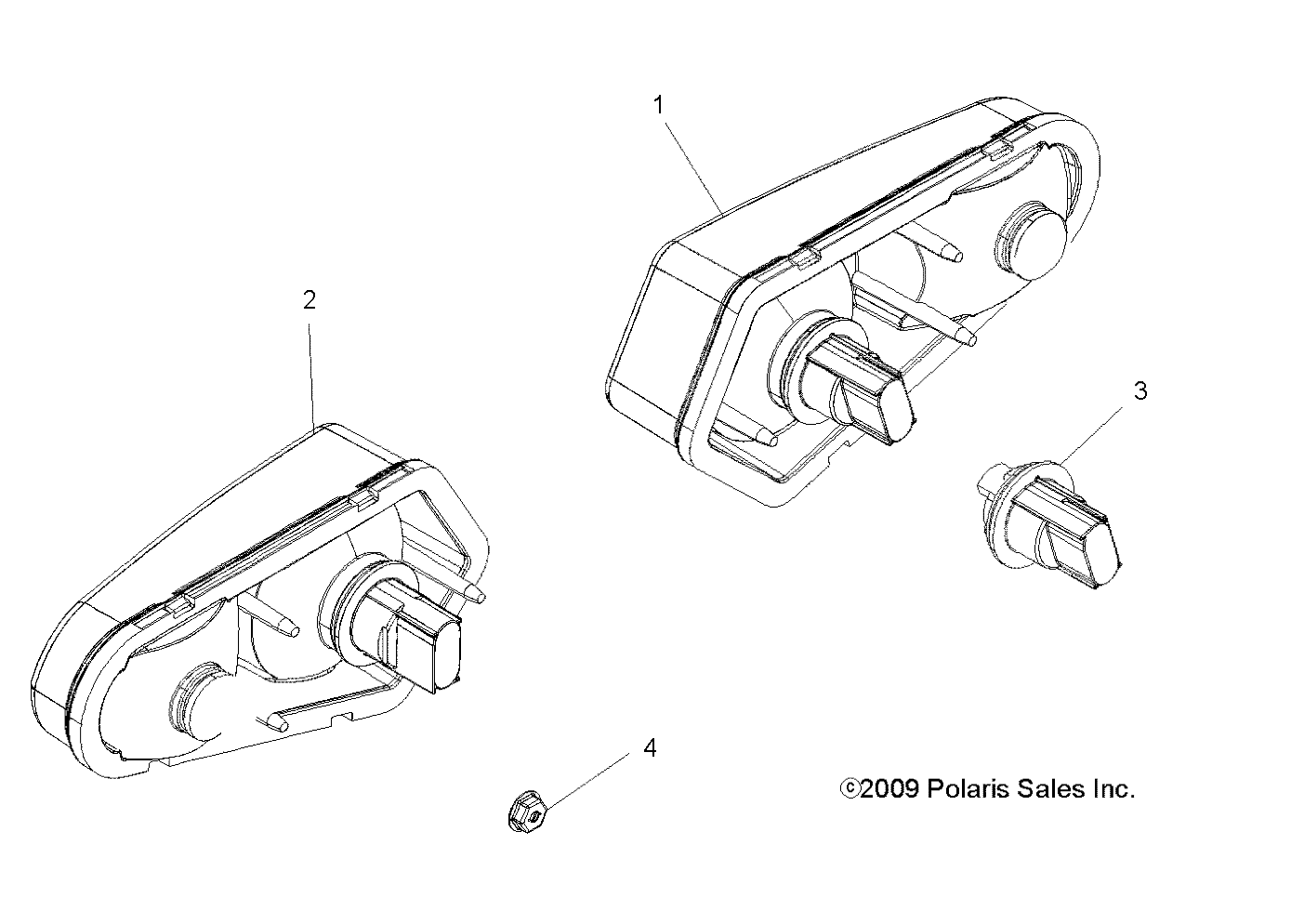
A10ZN55AL/AQ/AX
ELECTRICAL, TAILLIGHTS
#
Referencia
Descrição
Quant(*)
PVP
Stock
1
2411153
Asm., Taillight, LH [Incl. 3, Bulb]
1
158.22+iva
2
2411154
Asm., Taillight, RH [Incl. 3, Bulb]
1
158.22+iva
3
4011101
Socket, Taillight
2
78.98+iva
4
7670054
SPEED NUT-WASHER, HEAD-1/4
6
2.15+iva
Alterada
descontinuada
Activa
• (Quant *) este campo é a quantidade de unidades necessárias, apresentados nesta imagem ,mas é vendido à unidade.