0
Contatos
Polaris
Diagramas de Peças Polaris
Preços Veículos Polaris
Oleos Polaris
Consumiveis Polaris
Acessórios Polaris
Configurador Acessórios Polaris
Acessórios Polaris Mais Requisitados
Consumiveis
Loja Online
Promoções Fim de Semana
Alargadores Espaçadores
Baterias Motos e SSV
Capacetes
Correias Variador
Escapes ATV / SSV
Ferramenta tools Diagnóstico
Filtros de Ar
Filtros de Oleo
Guinchos
Jantes ATV e SSV
Malas e Baus
Merchandising Boutique
Oleos Lubrificantes
Optimate Acessórios
Optimate Optimizadores de Bateria
Pastilhas de Travão Travagem
Pinhons Cremalheiras Correntes
Proteções Bumpers
Rolamentos Roda
Transmissões Foles Homocinéticas
Variadores Acessórios
Velas e Cachimbos
Encomendas-Faturas
Minhas Encomendas
Faturas Emitidas
Peças Pendentes
Viaturas
Localizar Número Chassis
Modelos 2021
Modelos 2022
Modelos 2023
Modelos 2024
Modelos 2025
Modelos 2026
Cesto
0
Login
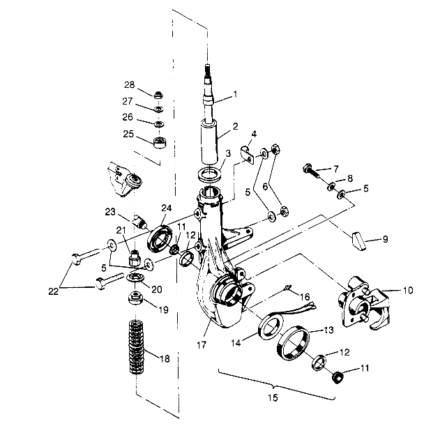
W948039
FRONT STRUT ASSEMBLY SPORTSMAN 4X4 W948040 (4926842684B004)
#
Referencia
Descrição
Quant(*)
PVP
Stock
1
5410429
BUMPER, RUBBER
Consulte-nos podemos ter uma solução
2
Obsoleta
2
7041304
STRUT, FRONT Substituted by 7041451
Esta Referencia foi alterada para :
7041451
2
Alterada
3
5211115
WASHER,SPRING RETAINER(10)
2
7.20+iva
4
7080347
CLAMP(10) Substituted by 7080573
Esta Referencia foi alterada para :
7080573
2
Alterada
5
7558402
Washer, Flat
12
1.63+iva
5
7558402
Washer, Flat
12
1.63+iva
5
7558402
Washer, Flat
12
1.63+iva
6
7542303
NUT FLEX-LOC(10)
Consulte-nos podemos ter uma solução
4
Obsoleta
7
7512365
SCREW, CAP(10)
4
2.15+iva
8
7552901
LOCK WASHER(10)
4
2.15+iva
9
5810439
RETAINER,WIRE,STRUT CAST
Consulte-nos podemos ter uma solução
2
Obsoleta
10
1910078
CAL.ASM,LH FR.BRAKE Substituted by 1910181 (See pg. A20)
Esta Referencia foi alterada para :
1910181
1
Alterada
11
3554506
BRG,TAPER.ROLL.CONE
4
43.07+iva
11
3554506
BRG,TAPER.ROLL.CONE
4
43.07+iva
12
3554507
BRG,TAPER,ROLL CUP
4
43.07+iva
12
3554507
BRG,TAPER,ROLL CUP
4
43.07+iva
13
5222193
SLEEVE,STRUT HUB SEAL
2
101.03+iva
14
4170003
COIL, MAGNETIC
2
101.03+iva
15
2200316
HUBSTRUT ASM, LH (Incl. 9, 13-15, 17)
1
45705.00+iva
15
2200317
HUBSTRUT ASM, RH (Incl. 9, 13-15, 17)
1
+iva
16
7080306
FITTING,LUBE.W/BALL CK.(10)
2
5.77+iva
17
5131016
SUPPORT,LH,HUBSTRUT Substituted by 2200601
Esta Referencia foi alterada para :
2200601
1
Alterada
17
5131017
SUPPORT,RH,HUBSTRUT Substituted by 2200602
Esta Referencia foi alterada para :
2200602
1
Alterada
18
7041161-067
SPRING, STRUT
Consulte-nos podemos ter uma solução
2
Obsoleta
19
5220602
RETAINER,SPRING,TOP
Consulte-nos podemos ter uma solução
2
Obsoleta
20
5430807
PIVOT BALL,BOTTOM Substituted by 5432871
Esta Referencia foi alterada para :
5432871
2
Alterada
21
5130668
SPACER,THREADED
2
37.68+iva
22
7515339
BOLT(10)
4
7.43+iva
23
-------
Asm., Drive Shaft w/Sleeve (See Pg. A17, Ref. 11)
1
+iva
24
3610028
SEAL, HUB STRUT
2
43.07+iva
25
5430806
PIVOT BALL, TOP Substituted by 5432872
Esta Referencia foi alterada para :
5432872
2
Alterada
26
5810291
SPACER, RUBBER
2
7.20+iva
27
7555749
WASHER(10)
2
2.15+iva
28
7542507
NUT,FLEX LOC(10)
2
7.20+iva
Alterada
descontinuada
Activa
• (Quant *) este campo é a quantidade de unidades necessárias, apresentados nesta imagem ,mas é vendido à unidade.