
| # | Referencia | Descrição | Quant(*) | PVP | Stock |
|---|---|---|---|---|---|
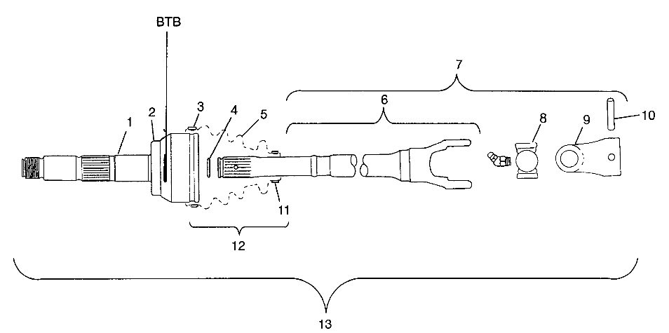
| 1 | 1380119 | HSG.ASM,CV,BTB,W/SLV. Consulte-nos podemos ter uma solução | 2 | Obsoleta | |
| 2 | 5222299 | SLEEVE, SEAL Consulte-nos podemos ter uma solução | 1 | Obsoleta | |
| 3 | 3260115 | CLAMP, LARGE(10) Consulte-nos podemos ter uma solução | 1 | Obsoleta | |
| 4 | 7670091 | CIRCLIP,DRIVESHAFT,BTB Esta Referencia foi alterada para : 1350054 | 1 | Alterada | |
| 5 | 5411106 | BOOT, CV JOINT Consulte-nos podemos ter uma solução | 1 | Obsoleta | |
| 6 | 1380094 | SHAFT,LONG (Incl. 4) Esta Referencia foi alterada para : 2200961 | 1 | Alterada | |
| 7 | 1380092 | CARDON WELD,LONG (Incl. 4, 6, 8, 9) Esta Referencia foi alterada para : 2200961 | 1 | Alterada | |
| 8 | 2200771 | KIT,CROSS&BEARING Consulte-nos podemos ter uma solução | 1 | Obsoleta | |
| 9 | 3260130 | YOKE, SPLINED Consulte-nos podemos ter uma solução | 1 | Obsoleta | |
| 10 | 7661913 | PIN-SPRING,5/16 X 1 5/8-Y | 3 | 7.20+iva | |
| 11 | 7080627 | CLAMP, BAND Consulte-nos podemos ter uma solução | 1 | Obsoleta | |
| 12 | 2200773 | KIT,BOOT,CV JOINT,BTB (Incl. 3, 5, 11) Consulte-nos podemos ter uma solução | 1 | Obsoleta | |
| 13 | 2200961 | KIT,DRIVESHAFT,W/SLV,BTB Esta Referencia foi alterada para : 2200960 | 2 | Alterada |