
| # | Referencia | Descrição | Quant(*) | PVP | Stock | 
|---|---|---|---|---|---|
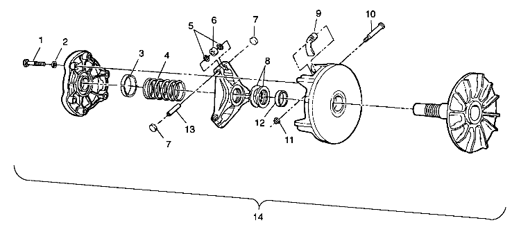
| 1 | 7512176 | BOLT(10) Substituted by 7512163 Esta Referencia foi alterada para : 7512163 | 6 | Alterada | |
| 2 | 7552801 | LOCK WASHER(10) | 6 | 2.87+iva | |
| 3 | 3576510 | BEARING, COVER,(10) | 1 | 12.92+iva | |
| 4 | 7041132 | SPRING-CLUTCH Consulte-nos podemos ter uma solução | 1 | Obsoleta | |
| 5 | 5430945 | WASHER,(10) Esta Referencia foi alterada para : 5438247 | 6 | Alterada | |
| 6 | 1321457 | ROLLER/BUSHING ASM.(6) | 3 | 71.08+iva | |
| 7 | 5431936 | BUTTON,CLUTCH Esta Referencia foi alterada para : 5439254 | 6 | Alterada | |
| 7 | 5431936 | BUTTON,CLUTCH Esta Referencia foi alterada para : 5439254 | 6 | Alterada | |
| 8 | 5242981 | SPACER(10) (.025) | AR | 7.20+iva | |
| 8 | 5210752 | SPACER(10) (.020) | AR | 2.87+iva | |
| 8 | 5210753 | SPACER(10) (.032) | AR | 4.32+iva | |
| 8 | 5210754 | SPACER(10) (.050) | AR | 5.77+iva | |
| 9 | 5630509 | WEIGHT, SHIFT S-55(6) (S-55) | 3 | 55.28+iva | |
| 10 | 7512266 | BOLT,SPECIAL(10) | 3 | 5.77+iva | |
| 11 | 7541906 | NUT FLEX LOC(10) | 3 | 5.77+iva | |
| 12 | 3576504 | BUSHING, DRIVEN | 1 | 32.30+iva | |
| 13 | 5020422 | PIN-ROLLER,(10) Substituted by 5133079 | 3 | 4.32+iva | |
| 14 | 1321632 | CLUTCH,DRIVE(ATV-06) (Less 4,9) Esta Referencia foi alterada para : 1322302 | 1 | Alterada |